Operation CHARM: Car repair manuals for everyone.
Manuals through 2025 now available!

Our trusted friends have launched a new website named LEMON, which has newer manuals. It also contains all the CHARM manuals.

LEMON is the spiritual successor to CHARM, I recommend you try it!

Link: lemon-manuals.la or lemon-manuals.org.ua

(Some people have issue connecting. LEMON is investigating. For now, use Firefox or change your DNS server)

Or, hide this message: temporarily or permanently

Brake Fluid Pressure Sensor/Switch: Service and Repair




Brake Fluid Pressure Sensor Removal/Installation

NOTE:

- Do not spill brake fluid on the vehicle; it may damage the paint; if brake fluid gets on the paint, wash it off immediately with water.
- To prevent dripping brake fluid, cover disconnected hose joints with rags or shop towels.
- Do not twist the brake hose and line when removed.

1. Drain the brake fluid.

2. Disconnect the 3P connector (BLU) (A) from the left front brake fluid pressure sensor (B).





3. Disconnect the 3P connector (GRY) (C) from the right front brake fluid pressure sensor (D).

4. Remove the brake lines (E) from the brake line 4-way joint (F).

5. Remove the brake line 4-way joint.

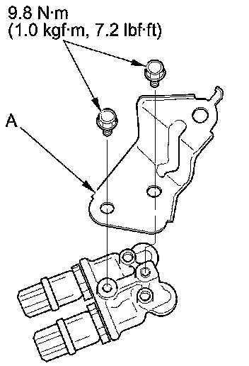
6. Remove the brake fluid pressure sensor bracket (A).






7. Remove the left (A) and right (B) front brake fluid pressure sensors from the brake line 4-way joint (C).





8. Install the parts in the reverse order of removal with new O-rings (D).

NOTE: Make sure the connector colors and brake fluid pressure sensor locations are correct.

9. After installation, refill the brake fluid, and bleed the brake system Service and Repair.

10. Do these checks:

- Check the brake hose and line joint for leaks, and tighten if necessary.
- Check the brake hoses for interference and twisting.

11. Connect the HDS to the data link connector.

12. Turn the ignition switch to ON (II).

13. Press the MAIN switch ON.

14. Clear the DTCs with the HDS.

15. Select ADAPTIVE CRUISE CONTROL (ACC) from ACC/CMBS menu, then enter FUNCTION TEST.

16. Activate BRAKE ACTUATOR 3 from the FUNCTION TEST.

NOTE: BRAKE ACTUATOR 3 operates the adaptive cruise control brake in this order (pressurization-stop-pressurization-stop). It takes about 6 seconds.

17. Check for DTCs with the HDS.

- If there is a DTC, go to the indicated DTCs troubleshooting.
- If there is no DTC, the brake fluid pressure sensor replacement is complete.