Operation CHARM: Car repair manuals for everyone.
Manuals through 2025 now available!

Our trusted friends have launched a new website named LEMON, which has newer manuals. It also contains all the CHARM manuals.

LEMON is the spiritual successor to CHARM, I recommend you try it!

Link: lemon-manuals.la or lemon-manuals.org.ua

(Some people have issue connecting. LEMON is investigating. For now, use Firefox or change your DNS server)

Or, hide this message: temporarily or permanently

ATF Replacement




ATF Replacement

NOTE: Keep all foreign particles out of the transmission.

1. Park the vehicle on the level ground.

2. Warm up the engine to normal operating temperature (the radiator fan comes on), and turn the engine off.

3. Raise the vehicle on a lift, apply the parking brake, block both rear wheels, and raise the front of the vehicle. Make sure it is securely supported.

4. Remove the front undercover.






5. Remove the ATF filler bolt and drain plug (A), and drain the automatic transmission fluid (ATF).

NOTE: For transmission cooler cleaning, refer to ATF cooler cleaning ATF Cooler Cleaning.





6. Reinstall the drain plug with a new sealing washer (B).

7. Remove the intake air duct and the air cleaner housing.

8. Refill the transmission with the recommended fluid into the filler hole (A). Always use Acura ATF DW-1 Automatic Transmission Fluid (ATF). Using a non-Acura ATF can affect shift quality.









9. Install the ATF filler bolt (B) and a new sealing washer (C).

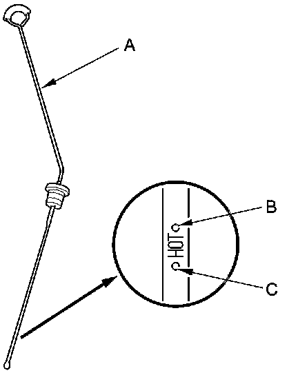
10. Remove the dipstick (A).





11. Make sure the fluid level is between the upper mark (B) and the lower mark (C) on the dipstick, then insert the dipstick back into the dipstick guide tube.

12. Install the air cleaner housing and the intake air duct.

13. Install the front undercover.





14. If the maintenance minder required to replace the ATF, reset the maintenance minder, and this procedure is complete. If the maintenance minder did not require you to replace the ATF, go to step 15.

15. Connect the HDS to the DLC (A) located under the driver's side of the dashboard.





16. Turn the ignition switch to ON (II). Make sure the HDS communicates with the PCM. If it does not, got to the DLC circuit troubleshooting Testing and Inspection.

17. Select GAUGES in the BODY ELECTRICAL with the HDS.

18. Select ADJUSTMENT in the GAUGES with the HDS.

19. Select MAINTENANCE MINDER in the ADJUSTMENT with the HDS.

20. Select RESET in the MAINTENANCE MINDER with the HDS.

21. Select MAINTENANCE SUB ITEM 3 RESET, and reset the ATF life with the HDS.