Power Relay Test
Power Relay Test
Special Tools Required
- Relay Puller 07AAC-000A1A0 or 07AAC-000A2A1
Use this chart to identify the type of relay, then do the test listed for it.
NOTE:
- The following relays are part of the relay control module: PGM-FI main relay 1, ignition coil relay, PGM-FI subrelay and ETCS control relay. To test these relays, do the relay control module test.
- Carefully remove the relay from the under-dash fuse/relay box using the relay puller. Do not use pliers. Pliers will damage the relay.
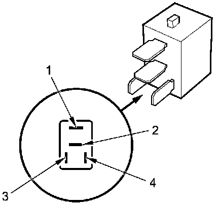
Normally-open Four-terminal Type
Check for continuity between the terminals.
- There should be continuity between terminals No. 1 and No. 2 when battery power is connected to terminal No. 4, and body ground is connected to terminal No. 3.
- There should be no continuity between terminals No. 1 and No. 2 when power is disconnected.
Five-terminal Type
Check for continuity between the terminals.
- There should be continuity between terminals No. 1 and No. 2 when battery power is connected to terminal No. 5, and body ground is connected to terminal No. 3.
- There should be continuity between terminals No. 1 and No. 4 when power is disconnected.
Relay Control Module Test
The relay control module is part of the under-hood fuse/relay box, and it contains these relays:
- PGM-FI main relay 1
- Ignition coil relay
- PGM-FI subrelay
- ETCS control relay
- Horn relay
If any of these relays fail the test, replace the under-hood fuse/relay box.
1. Do the battery terminal disconnection procedure, then disconnect under-hood fuse/relay box connectors C (2P), E (14P), and H (9P).
NOTE: All connector views are wire side of female terminals.
2. Connect battery power to terminal C2.
PGM-FI main relay 1:
- Connect terminal E5 to body ground. There should be battery voltage between terminal H1 and body ground.
- Disconnect terminal E5 from the body ground. There should be no voltage between terminal H1 and the body ground.
Ignition coil relay:
- Connect terminal E5 to body ground. There should be battery voltage between terminal H6 and body ground.
- Disconnect terminal E5 from the body ground. There should be no voltage between terminal H6 and the body ground.
PGM-FI subrelay
- Connect terminals E5 and E13 to body ground. There should be battery voltage between terminal H9 and body ground.
- Disconnect terminal E5 from the body ground. There should be no voltage between terminal H9 and the body ground.
ETCS control relay:
- Connect terminals E5 and E14 to body ground. There should be battery voltage between terminal H7 and body ground.
- Disconnect terminal E5 from the body ground. There should be no voltage between terminal H7 and body ground.
3. Connect battery power to terminal H3.
Horn relay:
- Connect terminal E4 to body ground. There should be battery voltage between terminal H4 and body ground, and between terminal H5 and body ground.
- Disconnect terminal E4 from the body ground. There should be no voltage between terminal H4 and body ground, and between terminal H5 and body ground.