Operation CHARM: Car repair manuals for everyone.
Manuals through 2025 now available!

Our trusted friends have launched a new website named LEMON, which has newer manuals. It also contains all the CHARM manuals.

LEMON is the spiritual successor to CHARM, I recommend you try it!

Link: lemon-manuals.la or lemon-manuals.org.ua

(Some people have issue connecting. LEMON is investigating. For now, use Firefox or change your DNS server)

Or, hide this message: temporarily or permanently

Power Mirror Motor: Service and Repair




Power Mirror Actuator Replacement

Removal

1. Remove the these items:

- Mirror holder Mirror Holder Replacement
- Power mirror Power Mirror Replacement
- Side turn signal light Side Turn Signal Light Replacement

2. Disconnect the power mirror 16P connector from the door harness.

3. Remove the gaskets (A), then remove the screw and cord from the mirror bracket (B).






4. Record the terminal location and wire colors, then cut the mirror actuator wires with the wire cutter.






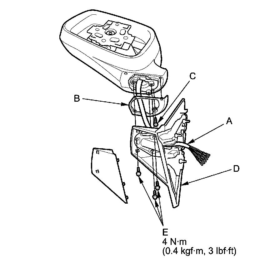
5. Remove the cover (A).





6. Remove the three screws, separate the mirror bracket (B), then remove screw, separate the seal (C) from the housing (D).

7. Remove the two screws then remove the visor (A) and the actuator housing (B) from the housing (C).





8. Remove the four screws and the actuator (D) from the actuator housing.

Installation

9. Install new actuator to the housing and visor in the reverse order of step 7 and 8.

10. Route the wire harness (A) of a new actuator through the hole in the seal (B), then tighten a screw (C).





11. Route the wire harness of a new actuator through the hole in the bracket (D).

12. Reassemble the mirror in the reverse order of removal. Apply LOCTITE to the three screws (E) and tighten to 4 Nm (0.4 kg-m, 3 lb-ft).

13. Install the gasket in the reverse order of removal.

14. Insert the mirror actuator wires into the original terminal locations as noted in step 4.

NOTE: Be careful to insert the wires correctly because the wires cannot be removed from the coupler once they are inserted.

15. Reassemble in the reverse order of disassembly.

NOTE: Be careful not to break the mirror when reinstalling it to the actuator.

16. Reinstall the mirror assembly on the door.

17. Operate the power mirror to ensure smooth operation.