Operation CHARM: Car repair manuals for everyone.
Manuals through 2025 now available!

Our trusted friends have launched a new website named LEMON, which has newer manuals. It also contains all the CHARM manuals.

LEMON is the spiritual successor to CHARM, I recommend you try it!

Link: lemon-manuals.la or lemon-manuals.org.ua

(Some people have issue connecting. LEMON is investigating. For now, use Firefox or change your DNS server)

Or, hide this message: temporarily or permanently

Climate Control Unit Removal/Installation




Climate Control Unit Removal/Installation

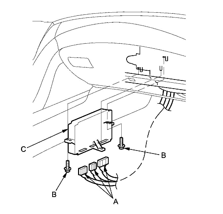
1. Remove the passenger's dashboard undercover Passenger's Dashboard Undercover Removal/Installation.

2. Disconnect the connectors (A). Remove the bolts (B) and the climate control unit (C).





3. Install the climate control unit in the reverse order of removal. After installation, operate the various functions to make sure they work properly.

4. Run the self-diagnostic function to confirm that there are no problems in the system Initial Inspection and Diagnostic Overview.