Operation CHARM: Car repair manuals for everyone.
Manuals through 2025 now available!

Our trusted friends have launched a new website named LEMON, which has newer manuals. It also contains all the CHARM manuals.

LEMON is the spiritual successor to CHARM, I recommend you try it!

Link: lemon-manuals.la or lemon-manuals.org.ua

(Some people have issue connecting. LEMON is investigating. For now, use Firefox or change your DNS server)

Or, hide this message: temporarily or permanently

Wiper Blade: Service and Repair




Wiper Blade Replacement

1. Lift the wiper arms from the windshield.

NOTE: Lift the driver's side first.

2. Press and hold the tab (A) and slide the wiper blade (B) toward the tab to release it from the wiper arm (C).






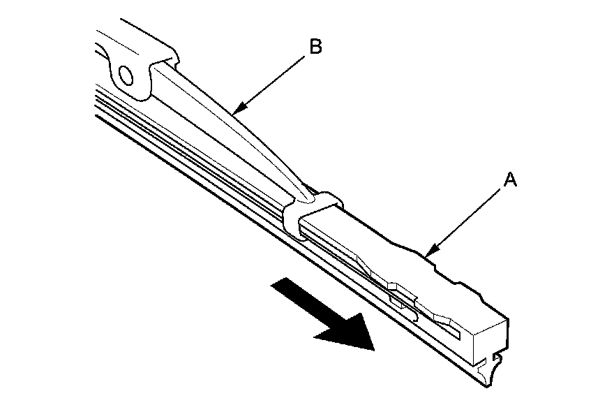
3. Slide the rubber (A) out from the wiper blade (B).





4. Install a new rubber to the wiper blade in the reverse order of removal.

5. Install the wiper blades onto the wiper arms in the reverse order of removal.

6. Check the wiper operation, if the blades slip, turn the wiper switch OFF, and reinstall the wiper blades securely.