Operation CHARM: Car repair manuals for everyone.
Manuals through 2025 now available!

Our trusted friends have launched a new website named LEMON, which has newer manuals. It also contains all the CHARM manuals.

LEMON is the spiritual successor to CHARM, I recommend you try it!

Link: lemon-manuals.la or lemon-manuals.org.ua

(Some people have issue connecting. LEMON is investigating. For now, use Firefox or change your DNS server)

Or, hide this message: temporarily or permanently

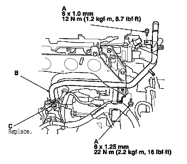
Coolant Line/Hose: Service and Repair




Cooling System Connecting Pipe Replacement

1. Drain the engine coolant. Service and Repair

2. Remove the intake manifold. Service and Repair

3. Remove the connecting pipe mounting bolts (A), then remove the connecting pipe (B).

4. Install the connecting pipe with a new O-ring (C).

5. Refill the radiator with engine coolant, and bleed the air from the cooling system with the heater valve open. Service and Repair