Operation CHARM: Car repair manuals for everyone.
Manuals through 2025 now available!

Our trusted friends have launched a new website named LEMON, which has newer manuals. It also contains all the CHARM manuals.

LEMON is the spiritual successor to CHARM, I recommend you try it!

Link: lemon-manuals.la or lemon-manuals.org.ua

(Some people have issue connecting. LEMON is investigating. For now, use Firefox or change your DNS server)

Or, hide this message: temporarily or permanently

Head Rest: Service and Repair




Rear Seat Head Restraint Tilt Button Removal/Installation

Special Tools Required

- KTC Trim Tool Set SOJATP2014
*Available through the Acura Tool and Equipment Program; call 888-424-6857

NOTE:

- Take care not to tear or damage the seat covers.
- Use the appropriate tool from the KTC trim tool set to avoid damage when removing components.

1. Remove the rear seat head restraint to its upright position.

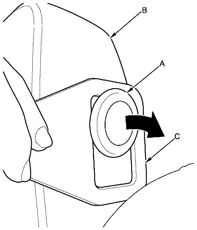
2. Remove the rear seat head restraint tilt button (A) from the rear seat head restraint (B).

1. Position the appropriate trim tool (C) behind the tilt button as shown.

2. Pull out on the tilt button to release it from the head restraint.





3. Located the slots (A) in the rear seat head restraint tilt button hole (B), then align the slots with the tabs (C) on the new rear seat head restraint tilt button (D).






4. With the slots and tabs aligned, push the new rear seat head restraint tilt button (A) in until you hear a click.

NOTE: Make sure the tilt button is installed securely.