Operation CHARM: Car repair manuals for everyone.
Manuals through 2025 now available!

Our trusted friends have launched a new website named LEMON, which has newer manuals. It also contains all the CHARM manuals.

LEMON is the spiritual successor to CHARM, I recommend you try it!

Link: lemon-manuals.la or lemon-manuals.org.ua

(Some people have issue connecting. LEMON is investigating. For now, use Firefox or change your DNS server)

Or, hide this message: temporarily or permanently

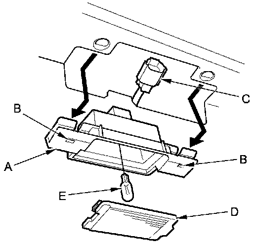
License Plate Lamp: Service and Repair




License Plate Light Replacement

1. Remove the license plate light (A) by pushing it away from the bumper to release the clips (B) from the rear bumper.









2. Disconnect the 2P connector (C) from the light.

3. Take the lens (D) off, then remove the bulb (E).

4. Install the light in the reverse order of removal.