Operation CHARM: Car repair manuals for everyone.
Manuals through 2025 now available!

Our trusted friends have launched a new website named LEMON, which has newer manuals. It also contains all the CHARM manuals.

LEMON is the spiritual successor to CHARM, I recommend you try it!

Link: lemon-manuals.la or lemon-manuals.org.ua

(Some people have issue connecting. LEMON is investigating. For now, use Firefox or change your DNS server)

Or, hide this message: temporarily or permanently

Condenser HVAC: Service and Repair




A/C Condenser Replacement

1. Recover the refrigerant with a recovery/recycling/charging station A/C Refrigerant Recovery.

2. Do the battery terminal disconnection procedure Procedures.

3. Remove the front bumper Service and Repair.

4. Remove the intake duct Removal and Replacement.

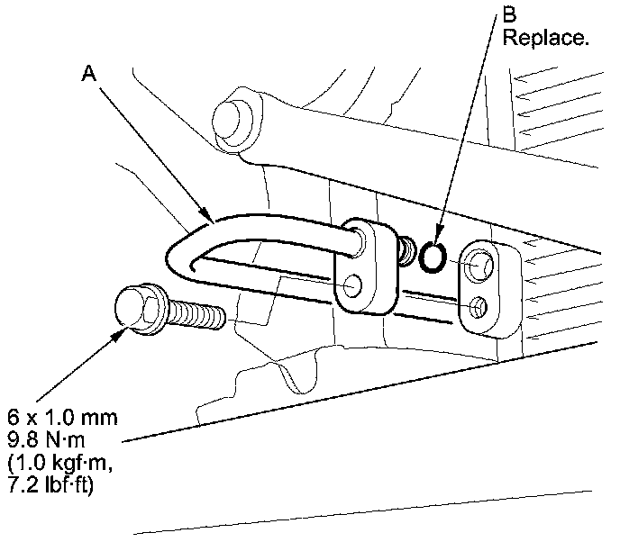
5. Remove the bolt, then disconnect the receiver line (A) from the A/C condenser. Remove the O-ring (B).






6. Remove the bolt, then disconnect the discharge hose (A) from the A/C condenser. Remove the O-ring (B).






7. Remove the bolts and the radiator upper mount brackets (A). Remove the clips and the front bulkhead brace cover (B).






8. Remove the bolts and the A/C condenser upper mount brackets (A).






9. Remove the A/C condenser (A) by lifting it up. Be careful not to damage the radiator or the A/C condenser fins when removing the A/C condenser.





10. Install the A/C condenser in the reverse order of removal, and note these items:

- If you're installing a new A/C condenser, add refrigerant oil (DENSO ND-OIL 8).
- Replace the O-rings with new ones at each fitting, and apply a thin coat of refrigerant oil before installing them. Be sure to use the correct O-rings for HFC-134a (R-134a) to avoid leakage.
- Immediately after using the oil, reinstall the cap on the container, and seal it to avoid moisture absorption.
- Do not spill the refrigerant oil on the vehicle; it may damage the paint; if the refrigerant oil contacts the paint, wash it off immediately.
- Be careful not to damage the radiator or the A/C condenser fins when installing the A/C condenser.
- Charge the system A/C System Charging.

11. Do the battery terminal reconnection procedure Procedures.