Operation CHARM: Car repair manuals for everyone.
Manuals through 2025 now available!

Our trusted friends have launched a new website named LEMON, which has newer manuals. It also contains all the CHARM manuals.

LEMON is the spiritual successor to CHARM, I recommend you try it!

Link: lemon-manuals.la or lemon-manuals.org.ua

(Some people have issue connecting. LEMON is investigating. For now, use Firefox or change your DNS server)

Or, hide this message: temporarily or permanently

Fuel Line/Quick-Connect Fitting Installation




Fuel Line/Quick-Connect Fitting Installation

Without SH-AWD

NOTE: Before you work on the fuel lines and fittings, read the Fuel Line/Quick-Connect Fitting Precautions Service Precautions.

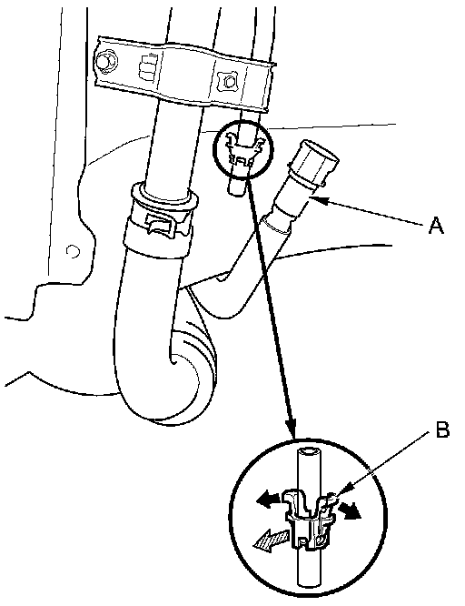
1. Check the contact area (A) of the line (B) for dirt or damage, and clean it if needed.






2. Insert a new retainer (A) into the connector (B) if the retainer is damaged, or after:

- replacing the fuel rail.
- replacing the fuel line.
- replacing the fuel pump.
- replacing the fuel filter.
- replacing the EVAP canister.
- replacing the fuel fill pipe.
- replacing the fuel tank.
- removing the retainer from the line.

Use the same manufacturer retainer and the same size when the replacing the retainer Service Precautions.






3. Before connecting a new fuel line/quick-connect fitting assembly (A), remove the old retainer (B) from the mating line.


















4. Align the quick-connect fittings with the line (A), and align the retainer locking tabs (B) with the connector grooves (C). Then press the quick-connect fittings onto the line until both retainer tabs lock with a clicking sound.

NOTE: If it is hard to connect, put a small amount of new engine oil on the line end.

Connection with new retainer





Connection to new fuel line





Reconnection to existing retainer





5. When you reconnect the connector with the old retainer, make sure the connection is secure and the tabs (A) are firmly locked into place; check visually and also by pulling the connector (B). When you replace the fuel line with a new one, make sure you remove the ring pull (C) upwards after you confirm the connection is secure.

NOTE: Before you remove the ring pull, make sure the fuel line connection is secure. If the connection is not secure, the ring pull could break when you try to remove it.






Connection to new fuel line





6. Reconnect the negative cable to the battery, and turn the ignition switch to ON (II), or press the engine start/stop button to select the ON mode (but do not operate the starter motor). The fuel pump runs for about 2 seconds, and fuel pressure rises. Repeat this two or three times, then make sure there are no fuel leaks.

7. If equipped, install the quick-connect fitting cover. Set the groove of the cover (A) on the fuel line (B) as shown, then install it. Make sure the cover is firmly locked in place.