Operation CHARM: Car repair manuals for everyone.
Manuals through 2025 now available!

Our trusted friends have launched a new website named LEMON, which has newer manuals. It also contains all the CHARM manuals.

LEMON is the spiritual successor to CHARM, I recommend you try it!

Link: lemon-manuals.la or lemon-manuals.org.ua

(Some people have issue connecting. LEMON is investigating. For now, use Firefox or change your DNS server)

Or, hide this message: temporarily or permanently

Quarter Window Glass: Service and Repair




Quarter Glass Replacement

NOTE:

- Put on gloves to protect your hands.
- Wear eye protection while cutting the glass adhesive with a piano wire.
- Use seat covers to avoid damaging any surfaces.

1. Remove these items.

- Cargo area side trim panel Interior Trim Removal / Installation - Rear Side Area
- Quarter pillar trim

2. Remove the front seal (A) and the molding quarter seal (B) from the front edge of the quarter glass (C). If necessary, cut the seals with a utility knife.





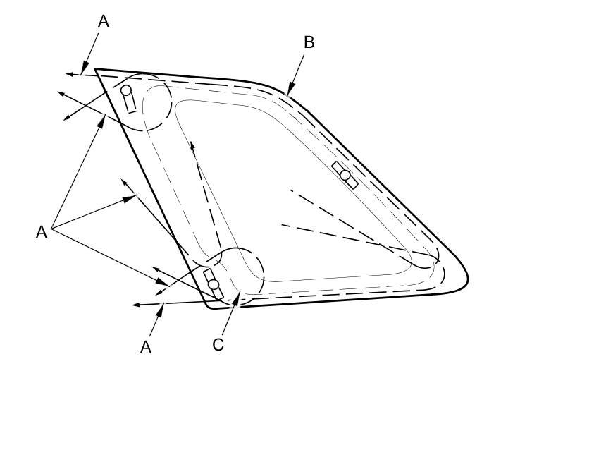
3. Apply protective tape along the inside and outside edges of the body. Make a hole with an awl through the adhesive from inside the vehicle. Push a piece of piano wire through the hole, and wrap each end around a piece of wood.

4. With a helper on the outside, pull the piano wire (A) back and forth in a sawing motion. Hold the piano wire as close to the quarter glass (B) as possible to prevent damage to the body, and carefully cut through the adhesive (C) around the entire quarter glass.






Cutting positions





5. Carefully remove the quarter glass.

6. Scrape smooth the old adhesive with a knife until there is a thickness of about 2 mm (0.08 in) on the bonding surface around the entire quarter glass opening flange:

- Do not scrape down to the painted surface of the body; damaged paint will interfere with proper bonding.
- Remove the clips from the body.

7. Clean the body bonding surface with a shop towel dampened in isopropyl alcohol. After cleaning, keep oil, grease, and water from getting on the surface.

8. If you are reinstalling the old quarter glass, scrape off all of the old adhesive, and the clips from the quarter glass with a putty knife. Clean the bonding surface on the inside face and the edge of the quarter glass with isopropyl alcohol. Make sure the bonding surface is kept free of water, oil, and grease.

9. Apply glass primer to the clip mounting areas on the quarter glass (A), and let it dry. Remove the adhesive backing and attach the upper clip (B), the lower clip (C), and the rear clip (D) to the inside face of the quarter glass as shown.

- Make sure the clips line up with the alignment marks (E, F).
- Be careful not to touch the quarter glass where the adhesive will be applied.





10. Apply glass primer to the edge of the quarter glass (A) where the molding quarter seal and the front seal will be attached as shown. Be careful not to touch the quarter glass where the adhesive will be applied.





11. Attach the molding quarter seal (B) and the front seal (C) with adhesive tape to the inside face of the quarter glass.

- First attach the molding quarter seal to the rear corner portion of the quarter glass, then attach the upper and lower portions of the seal around the edge of the quarter glass. Be sure the upper end and lower end of the molding quarter seal contact the front seal.
- Do not remove the adhesive backing of the double-sided adhesive tape on the rear corner of the molding quarter seal at this time.
- Be careful not to touch the quarter glass where the adhesive will be applied.

12. Apply a light coat of glass primer along the edge of the front seal (A) and the molding quarter seal (B) as shown, then lightly wipe it off with gauze or cheesecloth:

- With the printed dots (C) on the quarter glass (D) as a guide, apply the glass primer to the front portion of the quarter glass.
- Do not apply body primer to the quarter glass, and do not mix up the body primer applicator and the glass primer applicator.
- Never touch the primed surfaces with your hands. If you do, the adhesive may not bond to the quarter glass properly, causing a leak after the quarter glass is installed.
- Keep water, dust, and abrasive materials away from primed surfaces.





13. Carefully apply a light coat of body primer to any exposed paint or metal around the flange where new adhesive will be applied. Let the body primer dry for at least 10 minutes:

- Do not apply body primer to any remaining original adhesive on the flange.
- Be careful not to mix up the body primer applicator and the glass primer applicator.
- Never touch the primed surfaces with your hands.





14. Cut a "V" in the end of the nozzle (A) on the adhesive cartridge as shown.






15. Put the cartridge in a caulking gun, and run a continuous bead of the adhesive (A) to the quarter glass (B) along the seals (C) as shown. With the printed dots on the quarter glass as a guide, apply the adhesive to the upper and lower corner portions of the quarter glass. Apply the adhesive within 30 minutes after applying the glass primer. Make a slightly thicker bead at each corner.






16. Hold the quarter glass (A) with suction cups (B) over the opening, align it with the clips (C) and set it down on the adhesive. Lightly push on the quarter glass until its edges are fully seated on the adhesive all the way around.

NOTE: Do not open or close any of the doors for about an hour until the adhesive is dry.





17. Remove the adhesive backing (D), then attach the rear corner portion of the molding quarter seal (E) to the body with the double-sided adhesive tape (F) into place.

18. Remove the excess adhesive with a putty knife or a shop towel dampened with isopropyl alcohol.

19. Wait at least an hour for the adhesive to dry, then spray water over the quarter glass and check for leaks. Mark leaking areas, and let the quarter glass dry, then seal with sealant. Let the vehicle stand for at least 4 hours after quarter glass installation. If the vehicle has to be used within the first 4 hours, it must be driven slowly.

20. Reinstall all removed parts.

NOTE: Advise the client not to do the following things for 2 to 3 days:

- Slam the doors with all the windows rolled up.
- Twist the body excessively (such as when going in and out of driveways at an angle or driving over rough, uneven roads).