Operation CHARM: Car repair manuals for everyone.
Manuals through 2025 now available!

Our trusted friends have launched a new website named LEMON, which has newer manuals. It also contains all the CHARM manuals.

LEMON is the spiritual successor to CHARM, I recommend you try it!

Link: lemon-manuals.la or lemon-manuals.org.ua

(Some people have issue connecting. LEMON is investigating. For now, use Firefox or change your DNS server)

Or, hide this message: temporarily or permanently

A/C System Evacuation




A/C System Evacuation

Special Tools Required

- Compact Electronic Vacuum Gauge Robinair ROB14777, commercially available
*Available through the Acura Tool and Equipment Program; call 888-424-6857

CAUTION
- Air conditioning refrigerant or lubricant vapor can irritate your eyes, nose, or throat.
- Be careful when connecting service equipment.
- Do not breathe refrigerant or vapor.


NOTE:

- If accidental system discharge occurs, ventilate the work area before resuming service.
- Additional health and safety information may be obtained from the refrigerant and lubricant manufacturers.
- Do not allow moisture to contaminate the A/C system oil. Moisture in the oil is difficult to remove, and it can damage the A/C compressor.
- Using a compact electronic vacuum gauge may decrease the required evacuation time because you can measure actual moisture level with this tool.

A more efficient way to measure moisture removal is with a special tool called a compact electronic vacuum gauge, measuring vacuum levels in microns.

Connect the tool according to the manufacturers instructions and allow the vacuum pump to run until the gauge reads 500 microns.

Shut off and isolate the vacuum pump, then observe the gauge reading:

- If the vacuum level remains stable for at least three minutes, all moisture in the system has been removed.
- A slow increase in the micron reading means there is still moisture boiling out of the system. Restart the vacuum pump and continue evacuating.
- A quick increase of micron levels indicates a leak is present in the system or your service equipment. Determine the cause and correct the leak before continuing.

1. When an A/C System has been opened to the atmosphere, such as during installation or repair, it must be evacuated using an R-134a refrigerant recovery/recycling/charging station. If the system has been open for several days, replace the receiver/dryer, drain the refrigerant oil, and add fresh oil Technician Safety Information. then evacuate the system for several hours before charging it.

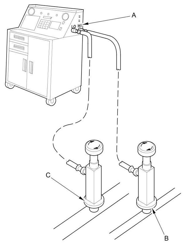
2. Connect an R-134a refrigerant recovery/recycling/charging station (A) to the high-pressure service port (B) and the low-pressure service port (C), as shown, following the equipment manufacturer's instructions.





3. Evacuate the system. The vacuum pump should run for a minimum of 30 minutes to eliminate all moisture from the system. When the suction gauge reads -93.3 kPa (-700 mmHg, -27.6 inHg) for at least 30 minutes, close all valves, and turn off the vacuum pump.

4. If the suction gauge does not reach approximately -93.3 kPa (-700 mmHg, -27.6 inHg) in 15 minutes, there is probably a large leak in the system. Partially charge the system, and check for leaks A/C Refrigerant Leak Check.