Operation CHARM: Car repair manuals for everyone.
Manuals through 2025 now available!

Our trusted friends have launched a new website named LEMON, which has newer manuals. It also contains all the CHARM manuals.

LEMON is the spiritual successor to CHARM, I recommend you try it!

Link: lemon-manuals.la or lemon-manuals.org.ua

(Some people have issue connecting. LEMON is investigating. For now, use Firefox or change your DNS server)

Or, hide this message: temporarily or permanently

ATF Replacement




ATF Replacement

NOTE: Keep all foreign particles out of the transmission.

1. Park the vehicle on the level ground.

2. Warm up the engine to normal operating temperature (the radiator fan comes on), and turn the engine off.

3. Raise the vehicle on a lift, make sure it is securely supported.

4. Remove the air cleaner Service and Repair.

5. Remove the intake air duct.

6. Remove the ATF filler bolt (A) and the sealing washer (B).






7. Remove the drain plug (A), and drain the automatic transmission fluid (ATF).

NOTE: If a cooler cleaning is necessary, refer to the ATF cooler cleaning ATF Cooler Cleaning.





8. Reinstall the drain plug with a new sealing washer (B).

9. Refill the transmission with the recommended fluid through the filler hole (A). Always use Acura ATF DW-1 Automatic Transmission Fluid (ATF). Using a non-Acura ATF can affect shift quality.









10. Install the ATF filler bolt (B) with a new sealing washer (C).

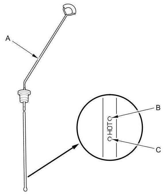
11. Remove the ATF dipstick (A).





12. Make sure the fluid level is between the upper mark (B) and the lower mark (C) on the dipstick, then insert the dipstick back into the dipstick guide tube.

13. Install the intake air duct.

14. Install the air cleaner Service and Repair.

15. If the Maintenance Minder required ATF replacement, reset the Maintenance Minder Description and Operation, and this procedure is complete. If the Maintenance Minder did not require you to replace the ATF, go to step 16.

16. Connect the HDS to the DLC (A) located under the driver's side of the dashboard.





17. Turn the ignition switch to ON (II), or press the engine start/stop button to select the ON mode. Make sure the HDS communicates with the PCM. If it does not, go to the DLC circuit troubleshooting Testing and Inspection.

18. Select GAUGES in the BODY ELECTRICAL with the HDS.

19. Select ADJUSTMENT in the GAUGES with the HDS.

20. Select MAINTENANCE MINDER in the ADJUSTMENT with the HDS.

21. Select RESET in the MAINTENANCE MINDER with the HDS.

22. Select MAINTENANCE SUB ITEM 3 RESET in the RESET with the HDS, and reset the ATF life with the HDS.