Front Accessory Power Socket Test/Replacement
Front Accessory Power Socket Test/Replacement
NOTE: If all of the front and console accessory power sockets do not work, check the No. 18 (7.5 A) fuse in the driver's under-dash fuse/relay box, ground (G403), and ground (G601) (with keyless access system) first.
1. Remove the passenger's center trim Dashboard Center Trim Removal / Installation.
2. Disconnect the 2P connector (A) from the front accessory power socket (B).
3. Inspect the connector terminals to be sure they are all making good contact.
- If the terminals are bent, loose, or corroded, repair them as necessary, and recheck the system.
- If the terminals look OK, go to step 4.
4. Turn the ignition switch to ACCESSORY (I), or press the engine start/stop button to select the ACC mode:
- With keyless access system, go to step 5.
- Without keyless access system, go to step 6.
5. Measure the voltage between front accessory power socket relay terminal No. 3 and body ground. There should be less than 0.2 V.
- If there is less than 0.2 V, go to step 7.
- If there is more than 0.2 V, check for:
- An open or high resistance in the wire between front accessory power socket relay terminal No. 3 and ground (G601).
- Poor ground (G601).
6. Measure the voltage between driver's under-dash fuse/relay box connector D (16P) terminal No. 14 and body ground. There should be less than 0.2 V.
- If there is less than 0.2 V, go to step 7.
- If there is more than 0.2 V, check for:
- An open or high resistance in the wire between driver's under-dash fuse/relay box connector D (16P) terminal No. 14 and ground (G601).
- Poor ground (G601).
7. Measure the voltage between front accessory power socket 2P connector terminal No. 1 and body ground. There should be battery voltage.
- If there is battery voltage, go to step 8.
- If there is no voltage, check for:
- Blown No. 23 (15 A) fuse in the driver's under-dash fuse/relay box.
- Faulty front accessory power socket relay.
- Faulty driver's under-dash fuse/relay box.
- An open in the wire between front accessory power socket terminal No. 1 and driver's under-dash fuse/relay box connector P (20P) terminal No. 1.
8. Check for continuity between front accessory power socket 2P connector terminal No. 2 and body ground. There should be continuity.
- If there is continuity, replace the power socket, go to step 9.
- If there is no continuity, check for:
- An open or high resistance in the wire between front accessory power socket 2P connector terminal No. 2 and ground (G403).
- Poor ground (G403).
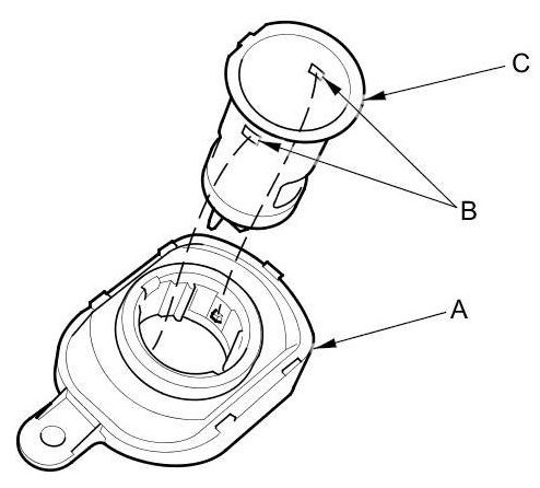
9. Remove the screw and socket base (A), then gently press the tabs (B), and remove the socket (C).
10. Remove the housing (A) from the socket base (B). Note the location of the indexing tabs (C).
11. Install the power socket in the reverse order of removal.