Operation CHARM: Car repair manuals for everyone.
Manuals through 2025 now available!

Our trusted friends have launched a new website named LEMON, which has newer manuals. It also contains all the CHARM manuals.

LEMON is the spiritual successor to CHARM, I recommend you try it!

Link: lemon-manuals.la or lemon-manuals.org.ua

(Some people have issue connecting. LEMON is investigating. For now, use Firefox or change your DNS server)

Or, hide this message: temporarily or permanently

Air Flow Sensor Plate Position Sensor: Testing and Inspection

(Fault code 2232)

CAUTION: The potentiometer is to be checked ONLY while mounted on the mixture control unit. The potentiometer is to be replaced ONLY with the air flow sensor as an assembly.

Check the potentiometer if ANY of the following conditions are observed
^ fault code 2232 is displayed
^ idle speed increases
^ engine speed fluctuates at idle

Check these first:
^ engine oil temperature 80°C (176°F) minimum
^ fault code display has been intitiated
^ valve cover gasket is tight and oil dip stick is inserted completely
^ all electrical consumers switched OFF
^ A/C switched OFF
^ use multimeter US 1119 and connector test kit VW 1594 to perform all measurements
^ radiator fan must NOT be running during measurements
^ ignition timing point and CO content OK
^ NO intake air leaks
- remove air duct to oil cooler
- remove air filter housing from lower bracket (from below)
- disconnect upper air filter housing (from above)






- push mixture control assembly (with air filter) toward engine and disconnect harness connector 2 from potentiometer






- switch multimeter to 200 Ohms range and connect between terminal 3 of harness connector and ground
^ Specification 0 - 0.8 Ohms

If NO
- repair break in wiring between connector and control unit using wiring diagram
- switch multimeter to 20 volts DO range and connect between terminals 1 and 3 of harness connector
- switch ignition ON
- measure potentiometer supply voltage (called U1), record measurement
^ Specification 4.35 - 5.35 volts

If NO
- check wiring between potentiometer harness connector and fuel injection control unit harness connector as follows
- switch ignition OFF
- remove fuel injection control unit access cover in right passenger side footwell






- remove harness connector from fuel injection control Unit






- check resistance between potentiometer harness connector and control unit harness connector as follows:
^ Potentiometer connector terminal 1 and control unit connector terminal 26
^ Potentiometer connector terminal 2 and control unit connector terminal 23
- Specification 0 - 0.8 Ohms

If NO
- check for break in wiring using wiring diagram






- connect test adapter VW 1501 between potentiometer and potentiometer harness connector
- switch multimeter US 1119 to 2 volts DC range and connect to terminals 2 and 3 of test adapter
- VW 1501
- switch ignition ON (with air flow sensor plate in rest position)
^ Specification 0-200 mV
- connect engine tester VW 1367

CAUTION: Make sure that the VW 1367 Top Dead Center pickup is fully inserted into the transmission housing.

- insert spare fuse into top of fuel pump relay (do NOT remove until test is complete)
- start engine and run at idle
- remove harness connector from idle stabilizer valve
^ engine speed MUST increase






- clamp one of the two hoses with pliers until an engine speed of 800 ± 20 RPM along with an ignition angle of 13 - 17° before Top Dead Center is displayed on VW 1367






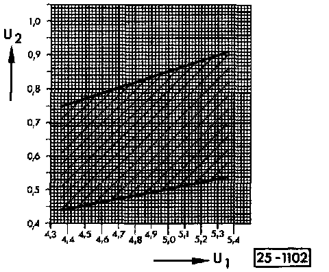
- read output voltage U2 of potentiometer and record then compare to U1 voltage on diagram (which was recorded earlier)
^ U1 = supply voltage of potentiometer between terminals 1 and 3
^ U2 = output voltage of potentiometer between terminals 2 and 3 (measured with engine idle 800 ± 20 RPM)

If the U2 voltage measures slightly below the lower tolerance range on the graph
- check intake air boot, crankcase ventilation hoses, carbon canister hoses, and vacuum lines for leaks
- after eliminating leaks, repeat test If NO leaks are found
- adjust potentiometer