Operation CHARM: Car repair manuals for everyone.
Manuals through 2025 now available!

Our trusted friends have launched a new website named LEMON, which has newer manuals. It also contains all the CHARM manuals.

LEMON is the spiritual successor to CHARM, I recommend you try it!

Link: lemon-manuals.la or lemon-manuals.org.ua

(Some people have issue connecting. LEMON is investigating. For now, use Firefox or change your DNS server)

Or, hide this message: temporarily or permanently

Navigation System




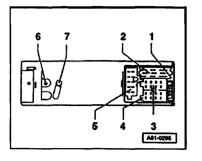
Multi-pin connectors on back of control module for navigation with CD-mechanism -J401-







1 - Terminal block with four multi-pin connectors and one fuse
2 - 20-pin multi-pin connector I consists of
yellow 6-pin partial connector
Green 6-pin partial connector
Blue 8-pin partial connector
3 - Brown 8-pin multi-pin connector II
4 - Black 8-pin multi-pin connector III
5 - Red 10-pin multi-pin connector IV
6 - Antenna connection GPS; connector box for the navigation antenna on the rear lid
7 - Securing bracket for antenna connection

Terminal assignments of multi-pin connectors I, II, III, IV on back of control module for navigation with CD-mechanism -J401

20-pin multi-pin connector I







1 - CAN-high telematic
2 - CAN-high display
3 - CAN screen telematic
4 - CAN-low telematic
5 - CAN-low display
6 - CAN screen display
7 - Button branch 2
8 - Output A
9 - Switch
10 - Button branch 3
11 - Output B
12 - Ground (GND)
13 - NF +
14 - NF mute navi
15 - NF -
16 - Telephone NF (+)
17 - Tel-active / mute FAW
18 - Tel-NF-screen
19 - Telephone NF (-)
20 - Not assigned

Brown 8-pin multi-pin connector II







1 - Not assigned
2 - Not assigned
3 - Not assigned
4 - Not assigned
5 - Not assigned
6 - Not assigned
7 - Not assigned
8 - Not assigned

Black 8-pin multi-pin connector III
1 - Gala (RPM signal)
2 - Reverse light switch
3 - K-diagnostic
4 - Terminal 15
5 - Not assigned
6 - Not assigned
7 - Terminal 30
8 - Terminal 31

Red 10-pin multi-pin connector IV







1 - Not assigned
2 - Not assigned
3 - Not assigned
4 - Not assigned
5 - Not assigned
6 - Not assigned
7 - Not assigned
8 - Not assigned
9 - Not assigned
10 - Not assigned