Operation CHARM: Car repair manuals for everyone.
Manuals through 2025 now available!

Our trusted friends have launched a new website named LEMON, which has newer manuals. It also contains all the CHARM manuals.

LEMON is the spiritual successor to CHARM, I recommend you try it!

Link: lemon-manuals.la or lemon-manuals.org.ua

(Some people have issue connecting. LEMON is investigating. For now, use Firefox or change your DNS server)

Or, hide this message: temporarily or permanently

CAN-Bus, Function



5 Speed Automatic 01V

CAN-Bus, Function


Bus:
The term "bus" refers to a system that transports and distributes data.

CAN:
The Controller Area Network is a bus system that uses two wires. These are called bus wires. Data is transferred to the connected control modules serial (one after the other) across the bus wires.

These control modules communicate with each other via the CAN-bus.

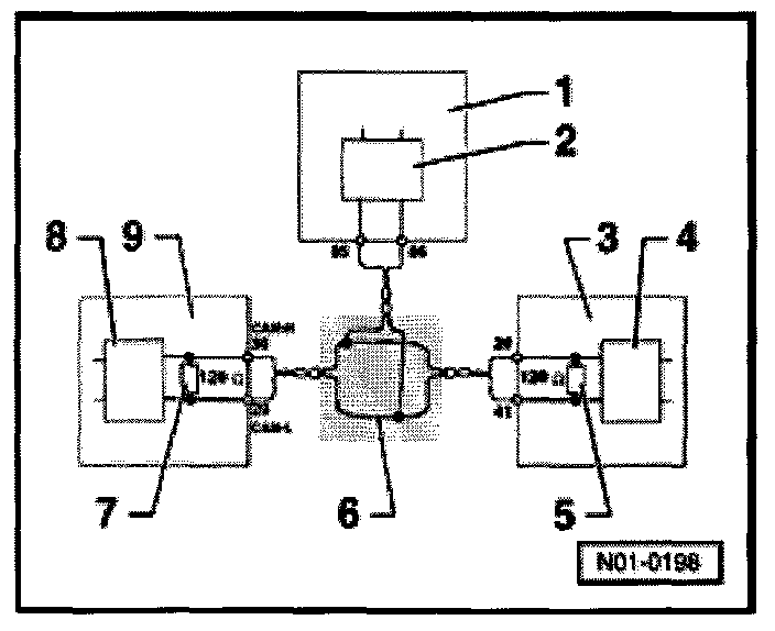
Overview of power train data-BUS







1 - Transmission Control Module (TCM) -J217-
2 - Driver for BUS
3 - Motronic Engine Control Module (ECM) -J220-
4 - Driver for BUS
5 - Termination resistance
6 - Power train data-BUS (CAN-bus, twisted 2 line wire)
7 - Termination resistance
8 - Driver for BUS
9 - ABS Control Module -J104-

Two-wire bus system, checking

If the DTC table indicates to check the bus:
- Use the applicable wiring diagram, determine how many control modules communicate with each other via the bus.
- Press the -0- button twice to select the function "Automatic test sequence".
- Before checking the bus wires, make sure that none of the control modules connected are malfunctioning.

A malfunction will disrupt communication to other control modules.

Is there a malfunction?
- Fix the malfunction before proceeding.
- Note malfunction and erase DTC memory of all control modules See Checking and erasing DTC memory of the relevant control module.
- Press buttons -0- and -6- to select "End Output" function 06. Press -Q- button to confirm input.
- End output of scan tool by selecting the function "end output". Refer to "Description of On-Board Diagnostics/List of Selectable Functions" under "Transmission and Drivetrain" Testing and Inspection
- Refer to the DTC table in the applicable malfunction.

When necessary repairs have made:
- Check bus wires if communication to the control modules is still faulty. If yes, check bus wires.

There can be two situations:
- Two control modules communicate via a "two-line bus system"
- Three or more control modules communicate via a "two-line bus system"

Two control modules communicate via a "two-line bus system"
- Switch ignition off.







- Disconnect both control modules.
- Check bus wires for open circuit.







- Check whether there is a short circuit between bus wires.







- Check bus wires for short circuit to B+ or Ground (GND).

If there are no malfunctions in the bus wires:
- As a test, replace one of the control modules. Select a control module that will take the least amount of time to replace and cost the least amount of money.
- If communication between the control modules across the bus is still interrupted, replace the second control module.

Three or more control modules are communicating across a "two-line bus system"
- Analyze DTCs stored in the memories of the control modules.

Example 1:







From the DTCs stored in the memories, determined that control module 1 is not communicating with control modules 2 and 3.

Control module DTCs stored in DTC memories:
1 - Missing signal from control module 2
- Missing signal from control module 3
2 - Missing signal from control module 1
3 - Missing signal from control module 1

- Switch ignition off.
- Disconnect the control modules connected across the bus wires and check bus wires for open circuit.
- Replace control module 1 if bus wires are OK.

Example 2:







From the DTCs stored in the memories, determined that control module 2 is not communicating with control modules 1 and 3.

Control module DTCs stored in module DTC memories:
1 - Missing signal from control module 2
2 - Missing signal from control module 1
- Missing signal from control module 3
3 - Missing signal from control module 2

- Switch ignition off.
- Disconnect the control modules connected across the bus wires and check bus wires for open circuit.
- Replace control module 2 if bus wires are OK.

Example 3:
Using DTCs stored in the memories, determined that none of the control modules are sending or receiving signals.

Control module DTCs stored in module DTC memories:
1 - Hardware faulty
2 - Hardware faulty
3 - Hardware faulty

- Switch ignition off.







- Disconnect the control modules connected across the bus wires and check for a short circuit between the bus wires.







- Check bus wires for short circuit to B+ or Ground (GND).

- If there are no malfunctions found in the bus wires, check whether one of the control modules is responsible for a short circuit of the bus wires to each other, to B+ or to Ground (GND).

Disconnect each of the control modules connected via the bus wires one at a time and check whether the malfunction "Hardware faulty" has been eliminated.

If it was eliminated, replace the control module that is currently disconnected. If malfunction was not eliminated, re-connect that control module and disconnect the next control module connected via the bus wires.