Throttle Valve Control Module Power Supply, Checking
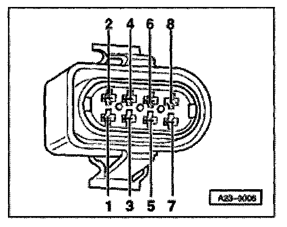
- Disconnect 8-pin harness connector from throttle valve control module -J338-.
- Connect multimeter US1119 (Fluke 83 or equivalent) between harness connector terminals using adapter cables from VW1594 connector test kit.
- Switch ignition on, and check voltage. Specified values:
- Connector terminals 3 and 7 (Ground): 9.0 - 14.5 volts
- Connector terminals 4 and 7 (Ground): 4.0 - 6.0 volts
- Switch ignition off.
If voltage is NOT OK:
- Connect VAG 1598/22 test box.
- Check wiring for open circuit between ECM/test box and 8-pin harness connector.
- Connector terminal 3 to ECM/test box socket 69
- Connector terminal 4 to ECM/test box socket 62
- Connector terminal 7 to ECM/test box socket 67
- Specified value: max. 1.5 ohms
- Check wiring for short circuit between ECM/test box and 8-pin harness connector.
- Connector terminal 7 to ECM/test box socket 69
- Connector terminal 7 to ECM/test box socket 62
- Connector terminal 4 to ECM/test box socket 67
- Specified value: Infinity ohms
- Reconnect throttle valve control module harness connector.
If wiring is OK:
- Replace Motronic Engine Control Module (ECM) -J220-.
- Carry out adaptation of throttle valve control module to ECM.
- Check readiness code.