Operation CHARM: Car repair manuals for everyone.
Manuals through 2025 now available!

Our trusted friends have launched a new website named LEMON, which has newer manuals. It also contains all the CHARM manuals.

LEMON is the spiritual successor to CHARM, I recommend you try it!

Link: lemon-manuals.la or lemon-manuals.org.ua

(Some people have issue connecting. LEMON is investigating. For now, use Firefox or change your DNS server)

Or, hide this message: temporarily or permanently

Mass Air Flow (MAF) Sensor -G70-, Checking



Mass Air Flow (MAF) Sensor -G70-, Checking

NOTE: The V8 biturbo engine is fitted with two mass air flow sensors. -G70- measures the intake air mass of cylinder bank 1 (cylinders 1 to 4) and - G246- that of cylinder bank 2 (cylinders 5 to 8).


Requirements
- Coolant temperature at least 80 degree C
- Electrical loads switched off (radiator coolant fan must not run during test)
- Air conditioner switched off.

Checking operation
- Connect vehicle diagnostic, testing and information system VAS 5051 and select vehicle system "01 - Engine electronics" from list. Engine must be idling. Connecting VAS 5051 Scan Tool

Indicated on VAS 5051:







- From list -1- select diagnostic function "04 - Basic setting".

Indicated on VAS 5051:







1 Enter display group
- Use keypad -2- to enter "002" for "Display group number 002" and confirm by touching Q key.

Indicated on VAS 5051:







- Activate basic setting by touching key -A-.
- Check display in zones -3- and -4-.


Display Group 002:






NOTE: Values displayed in zones 3 and 4 must be roughly equal.

- Terminate function "04 - Basic setting" by touching <- key.







Checking Power Supply For Mass Air Flow Sensor

Requirements
- Fuse for mass air flow sensor OK
- Fuel pump relay OK

NOTE: The mass air flow sensor is supplied with power by the fuel pump relay.







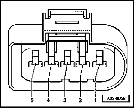
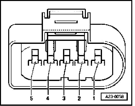
- Disconnect connector item -3- at Mass Air Flow (MAF) sensor -G70-, cylinder bank 1.







- Connect multimeter for voltage measurement as follows:

Connector Contact Measure to
2 Engine Ground

- Briefly operate starter.
- Specification: approx. battery voltage

If reading does not match specification:
- Check for open circuit/short to Ground in wiring from contact 2 of connector via fuse to fuel pump relay.
- Eliminate open circuit in wiring/short circuit if necessary.

If reading matches specification:







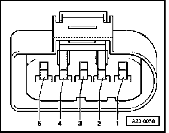
- Connect multimeter for voltage measurement between contacts 2 and 3 of connector.
- Briefly operate starter (engine may start).
- Specification: approx. battery voltage

NOTE: Engine control module Ground is applied to contact 3 of connector.

If reading does not match specification:
- Check wiring.







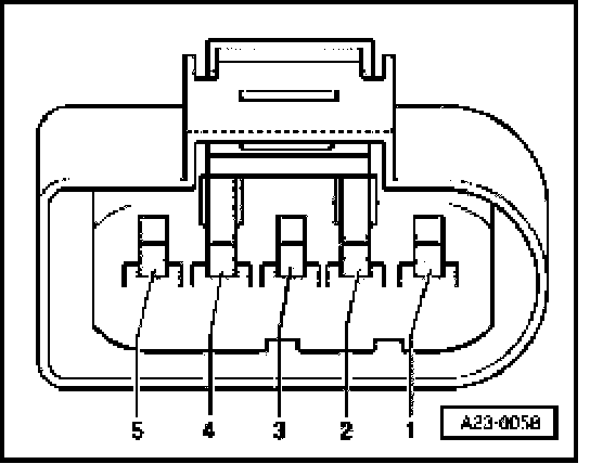
- Connect multimeter for voltage measurement between contacts 4 and 3 of connector.
- Switch on ignition.
- Specification: approx. 5 V

If reading does not match specification:

Checking wiring for mass air flow sensor

NOTE: Signal wire is also checked as part of wiring test.

- Connect test box V.A.G 1598/31 at wiring harness to engine control module. Actual engine control module is not to be connected. Wiring And Component Check Using Test Box V.A.G 1598/31







- Check for open circuit and short to Ground/positive in following wiring.

Connector Contact Test box V.A.G 1598/31
Socket

3 27
4 53
5 (signal) 29

- Eliminate open circuit in wiring/short circuit if necessary.
- Also check all wires for mutual short circuit.

If no fault is found in wiring:
- Replace Mass Air Flow (MAF) sensor -G70-.