Operation CHARM: Car repair manuals for everyone.
Manuals through 2025 now available!

Our trusted friends have launched a new website named LEMON, which has newer manuals. It also contains all the CHARM manuals.

LEMON is the spiritual successor to CHARM, I recommend you try it!

Link: lemon-manuals.la or lemon-manuals.org.ua

(Some people have issue connecting. LEMON is investigating. For now, use Firefox or change your DNS server)

Or, hide this message: temporarily or permanently

Compression Check: Testing and Inspection



Compression pressure, checking
Special Tools and Equipment





^ 3122B spark plug removal tool





^ VAG1381 or VAG1763 compression tester

Test requirements:
^ Minimum engine oil temperature: 30°C
^ Battery voltage at least 12.7 V





Test sequence
^ Remove rear engine cover (arrows).





^ Remove cover -1- in engine compartment (left side).





^ Remove coolant reservoir (arrow)
^ Disconnect electrical wiring to Engine Coolant Level (ECL) Warning Switch -F66- at bottom of expansion tank.
^ Tie coolant expansion tank with connected coolant hoses -1 to 3- to side.





^ Remove cover -1- in engine compartment (right side).





^ Remove bolts (arrows).
^ Detach Evaporative Emissions (EVAP) Canister Purge Regulator Valve -N80-1- at air guide.
^ Remove air guide -2-.





^ Remove air filter housing (arrows).
^ Disconnect electrical harness connector -1- at Mass Air Flow (MAF) sensor.
^ Remove air guide hose -2- together with Mass Air Flow (MAF) sensor.





^ Remove bolts -4- and -5- at left cylinder head cover.
^ Disconnect electrical harness connectors -1- to -3- and -6-.
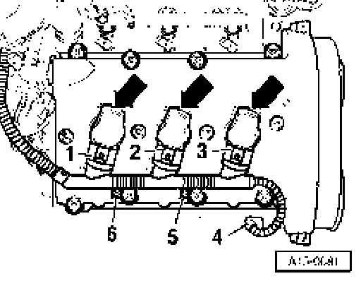
^ Remove ignition coils (arrows).





^ Remove bolts -5- and -6- at right cylinder head cover.
^ Disconnect electrical harness connectors -1- to -4-.
^ Remove ignition coils (arrows).
^ Using 3122B spark plug removal tool, remove spark plugs.
^ Remove all harness connectors to injectors.
^ Open throttle fully.
^ Test engine compression using VAG1381 or VAG1763 compression tester.

Note: Using VAG1381 or VAG1763 Compression Tester:

Refer to Operating instructions
^ Activate starter until no further pressure increases are indicated by VAG1381 or VAG1763 compression tester.





Compression values:

^ Install spark plugs and ignition coils.
The following work step must be performed after the engine compression test.
^ Checking DTC and erasing if necessary.
Use VAS5051 tester to do so.





Tightening torque