Operation CHARM: Car repair manuals for everyone.
Manuals through 2025 now available!

Our trusted friends have launched a new website named LEMON, which has newer manuals. It also contains all the CHARM manuals.

LEMON is the spiritual successor to CHARM, I recommend you try it!

Link: lemon-manuals.la or lemon-manuals.org.ua

(Some people have issue connecting. LEMON is investigating. For now, use Firefox or change your DNS server)

Or, hide this message: temporarily or permanently

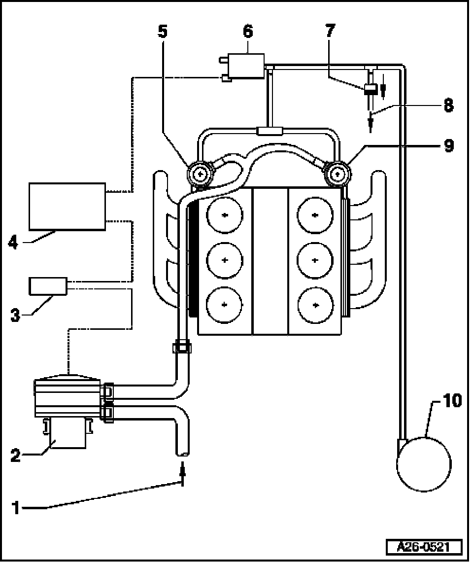
Secondary Air System - Component Overview



Component Overview


Component Locations, Overview:






1 from air filter housing
2 Secondary Air Injection (AIR) Pump Motor -V101-
- Component location, See Fig. 2.
3 Secondary Air Injection (AIR) pump relay -J299-
- Component location, See Fig. 3.
4 Motronic Engine Control Module (ECM) -J220-
5 Right combination valve for Secondary Air Injection (AIR) system
- Component location, See Fig. 4.
6 Secondary Air Injection (AIR) solenoid valve -N112-
- Component location, See Fig. 1.
7 Check-valve
- Installation position (light/dark side): Arrow points in direction of aperture, as shown in figure.
8 to Intake manifold
9 Left combination valve for Secondary Air Injection (AIR) system
- Component location, See Fig. 4
10 Vacuum reservoir
- Component location: Under wheel housing liner in front left wheel housing

Fig. 1 Component location of Secondary Air Injection (AIR) Solenoid Valve -N112-







- Bolted to holding plate for solenoid valves at rear of engine (arrow).

Fig. 2 Component location of Secondary Air Injection (AIR) Pump Motor -V101-







- At front right in engine compartment below the long member

1 Electrical harness connector for Secondary Air Injection (AIR) Pump Motor -V101-

Fig. 3 Component location of Secondary Air Injection (AIR) Pump Relay -J299-







- In E-box, plenum chamber

1 Engine Control Module (ECM)
2 Secondary Air Injection (AIR) pump relay -J299-
3 Motronic Engine Control Module (ECM) voltage supply relay -J271-
4 Fuse S130 for Secondary Air Injection (AIR) pump

NOTE: Right valve is displayed in illustration.

Fig. 4 Combination valve for Secondary Air Injection (AIR)
system








- at rear of cylinder heads

NOTE: Right valve is displayed in illustration.