Operation CHARM: Car repair manuals for everyone.
Manuals through 2025 now available!

Our trusted friends have launched a new website named LEMON, which has newer manuals. It also contains all the CHARM manuals.

LEMON is the spiritual successor to CHARM, I recommend you try it!

Link: lemon-manuals.la or lemon-manuals.org.ua

(Some people have issue connecting. LEMON is investigating. For now, use Firefox or change your DNS server)

Or, hide this message: temporarily or permanently

Air Flow Meter/Sensor: Testing and Inspection



Mass Air Flow (MAF) Sensor -G70-, Checking
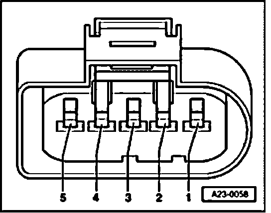
Mass Air Flow (MAF) Sensor -G70- is located in upper part of air filter housing.

NOTE: Use only gold-plated terminals when servicing terminals in harness connector of Mass Air Flow (MAF) sensor.

Recommended special tools and equipment
- VAG1526 multimeter or VAG1715 multimeter
- VAG1594 connector test kit
- Wiring diagram

Test requirements
- The respective fuses of Mass Air Flow (MAF) Sensor -G70- must be OK.
- Fuel Pump (FP) Relay -J17- must be OK.
- Battery voltage must be at least 11.5 volts.
- All electrical consumers such as, for example, lights and rear window defroster must be switched off.
- Parking brake must be engaged or else daylight driving lights will be switched on.
- If vehicle is equipped with an A/C system, it must be switched off.
- Ground (GND) connections between engine and chassis must be OK.

Function test
- Connect diagnostic tester Scan Tool Connecting.
- Start engine and let run at idle.
- Under address word 33, select "Diagnostic mode 1: Checking measured values."
- Coolant temperature must be at least 80 degree C "PID 5, Coolant temperature".
- Select the measuring value "PID 16: Air flow quantity at Mass Air Flow (MAF) sensor".
- Check specified value of air flow quantity at Mass Air Flow (MAF) Sensor at idle:










- End diagnosis and switch ignition off.

If specified value is obtained, but DTC memory has a DTC concerning Mass Air Flow (MAF) sensor:
- Check voltage supply of Mass Air Flow (MAF) sensor.

If specified value is not obtained:
- Check signal and Ground (GND) wire of Mass Air Flow (MAF) sensor.

Checking voltage supply of Mass Air Flow (MAF) Sensor -G70-
- Check fuse for Mass Air Flow (MAF) sensor.

If fuse is OK.
- Disconnect connector from Mass Air Flow (MAF) sensor.







- Connect multimeter to terminal 2 of connector and engine Ground (GND) for voltage measurement.
- Operate starter briefly (engine can also start briefly).
Specified value: approx. battery voltage

- If specified value is not reached, check wire connection from terminal 2 of connector to Fuel Pump (FP) relay via fuse for open circuit and short circuit to Ground (GND), repair wire connection if necessary.







- Connect multimeter to terminal 2 and terminal 3 of connector for voltage measurement.
- Operate starter briefly.
Specified value: approx. battery voltage

NOTE: Ground (GND) from the ECM is present at terminal 3 of connector.

If specified value is not obtained, check wire connections.







- Connect multimeter to terminal 3 and terminal 4 of connector for voltage measurement.
- Switch ignition on.
Specified value: approx. 5 Volts.

Check wire connections for Mass Air Flow (MAF) sensor

NOTE: Signal wire is also checked during wire test.







- Connect V.A.G 1598/31 test box to wiring harness of Engine Control Module (ECM) Scan Tool Connecting

The following wire connections must be checked for short circuit to B+, Ground (GND) and for open circuit

Connector for Mass Air Flow VAG1598/31 test box terminal
(MAF) Sensor -G70-
3 27
4 53
5 29

- Check all wires for short circuit to each other.
Specified value: Infinity Ohms (no continuity)
- If voltage supply and wire connections are OK, replace Mass Air Flow (MAF) sensor.
- Read readiness code If DTC memory was erased, readiness code must be generated again