Operation CHARM: Car repair manuals for everyone.
Manuals through 2025 now available!

Our trusted friends have launched a new website named LEMON, which has newer manuals. It also contains all the CHARM manuals.

LEMON is the spiritual successor to CHARM, I recommend you try it!

Link: lemon-manuals.la or lemon-manuals.org.ua

(Some people have issue connecting. LEMON is investigating. For now, use Firefox or change your DNS server)

Or, hide this message: temporarily or permanently

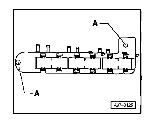
Power and Ground Distribution: Service and Repair



Removing
- Remove E-box.
- Disconnect electrical connectors at connector station.





- Remove two screws -A-.
- Unclip connector housing from connector station.
- Remove relay carrier from below.


Installing
- Install in reverse order of removal.