Operation CHARM: Car repair manuals for everyone.
Manuals through 2025 now available!

Our trusted friends have launched a new website named LEMON, which has newer manuals. It also contains all the CHARM manuals.

LEMON is the spiritual successor to CHARM, I recommend you try it!

Link: lemon-manuals.la or lemon-manuals.org.ua

(Some people have issue connecting. LEMON is investigating. For now, use Firefox or change your DNS server)

Or, hide this message: temporarily or permanently

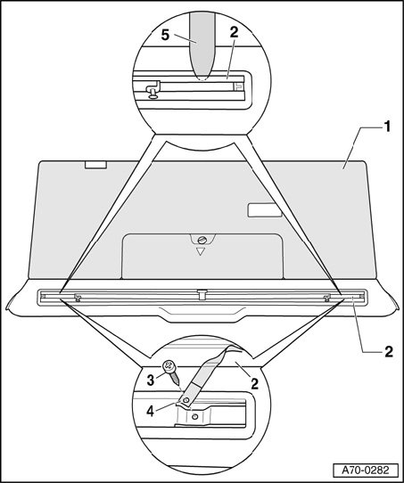
Window Shade: Service and Repair



Sun Shade On Tailgate (Avant), Removing And Installing







1 - Tailgate trim (bottom section)
2 - Sun shade

Removing
- Using a suitable plastic tool - 5 -, pry out sun shade - 2 - at the sides.
- Remove screws - 3 - (2x).

Installing
- Secure fastening strap - 4 - with screws - 3 - (2x).
- Press sun shade - 2 - into bottom section of tailgate trim along full length.

3 - Screws (2x)
- Tightening torque: 2.5 Nm (22 in lb)
4 - Fastening strap
5 - Plastic tool