Operation CHARM: Car repair manuals for everyone.
Manuals through 2025 now available!

Our trusted friends have launched a new website named LEMON, which has newer manuals. It also contains all the CHARM manuals.

LEMON is the spiritual successor to CHARM, I recommend you try it!

Link: lemon-manuals.la or lemon-manuals.org.ua

(Some people have issue connecting. LEMON is investigating. For now, use Firefox or change your DNS server)

Or, hide this message: temporarily or permanently

Global Positioning System Module



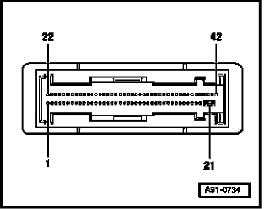
Telephone/Telematics Control Module J526, Multi-pin Connector Assignments

Telephone/Telematics Control Module J526, connector view







1. Connection - GPS antenna
2. 42-pin connector
3. Connection - Telematics antenna

Telephone/Telematics Control Module J526, multi-pin connector assignments

NOTE: Terminals which are not listed are vacant/unassigned.







42-pin, multi-pin connection - T42
1. Horn
2. Door lock
3. Cellular telephone - audio input
4. Cellular telephone - battery feedback
5. Cellular telephone - Ground (GND)
6. Cellular telephone - Transmit (RS232)
7. Cellular telephone - Line 1 (Tx)
8. Cellular telephone - shielded Ground (GND)
9. CAN-Bus High - Infotainment
10. Audio out- (+)
11. Emergency speaker - (+)
12. Inside microphone - (+)
13. Data Link Connector (DLC)
14. Switched positive - Terminal X
15. LED-Red
16. LED -Green
18. Ground (GND) - Terminal 31
19. Ground (GND) - Terminal 31
22. Lights
23. Door unlock
24. Cellular telephone Audio Output
25. Cellular telephone - Audio Ground
26. Cellular telephone - Power
27. Cellular telephone - Receive (RS232)
28. Cellular telephone - Line 2 (Rx)
29. Cellular telephone - Hook Switch
30. CAN Bus - Low - Infotainment
31. Audio out
32. Emergency Speaker - (-)
33. Inside microphone - (-)
34. Mute
35. Keypad In
36. Keypad Power
38. Airbag (Crash) Line output
39. Battery positive (B+) - Terminal 30
40. Battery positive (B+) - Terminal 30
41. Backup battery - (+)
42. Backup battery - (+)