Operation CHARM: Car repair manuals for everyone.
Manuals through 2025 now available!

Our trusted friends have launched a new website named LEMON, which has newer manuals. It also contains all the CHARM manuals.

LEMON is the spiritual successor to CHARM, I recommend you try it!

Link: lemon-manuals.la or lemon-manuals.org.ua

(Some people have issue connecting. LEMON is investigating. For now, use Firefox or change your DNS server)

Or, hide this message: temporarily or permanently

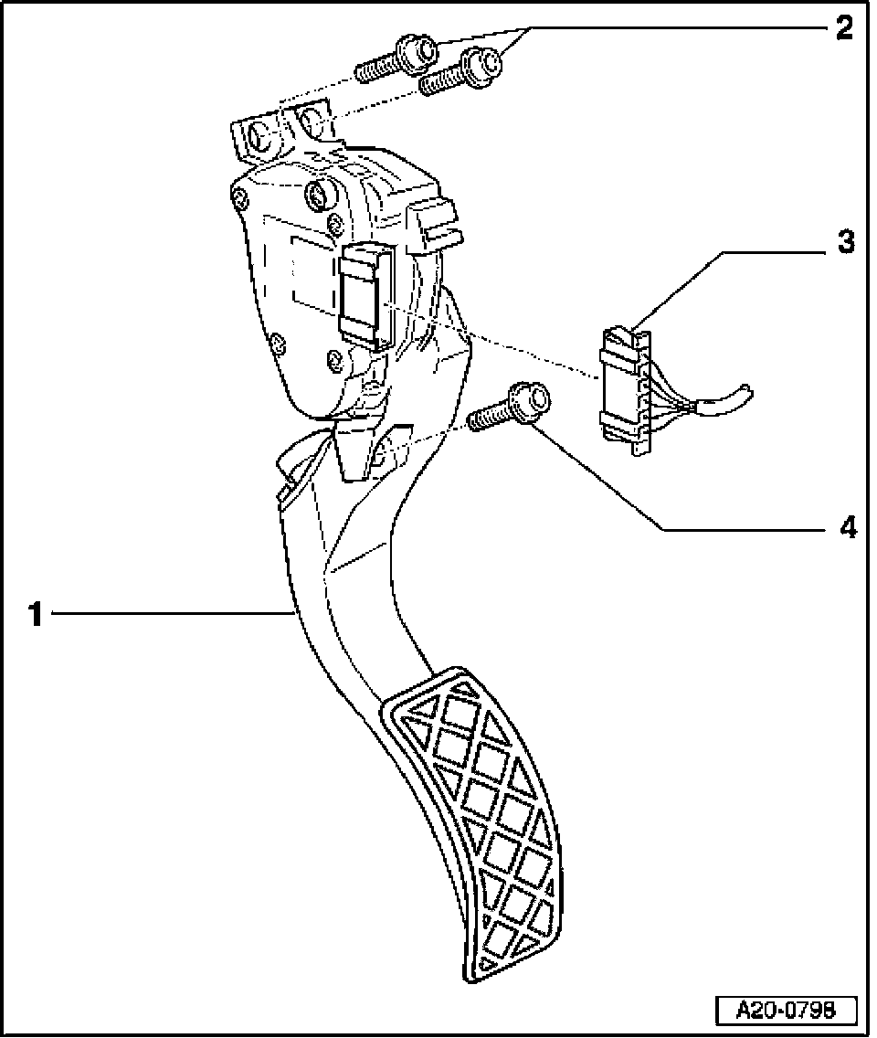
Accelerator Linkage, Servicing



Accelerator Linkage, Servicing







1. Accelerator pedal module
- with Throttle Position (TP) sensor-G79- and sender -2- for accelerator pedal position -G185-
- Throttle Position (TP) Sensors -G79- and -G185-. Throttle Position (TP) Sensor 1 -G79- and Sender -2- For Accelerator Pedal Position -G185-, Checking
2. 10 Nm
3. 6-pin harness connector
4. 10 Nm

Accelerator pedal module with Throttle Position (TP) sensors, removing and installing
- Remove driver-side storage compartment.







- Disconnect 6-pin harness connector -2-.
- Remove bolts -1- and -3-.
- Remove accelerator pedal module.

Installing
Installation is the reverse of removal, noting the following:
- In a vehicle with automatic transmission, the kickdown function must be adapted when accelerator pedal module is replaced: To do so, switch on ignition and press accelerator pedal all the way down past the kickdown point and hold in position for at least 20 seconds.
- Switch ignition off.
- Engine Control Module (ECM) now requires approx. 3 seconds to store the learned value. At this time, the ignition must not be switched on again

Tightening torque

Component Nm

Accelerator pedal module to pedal mount 10