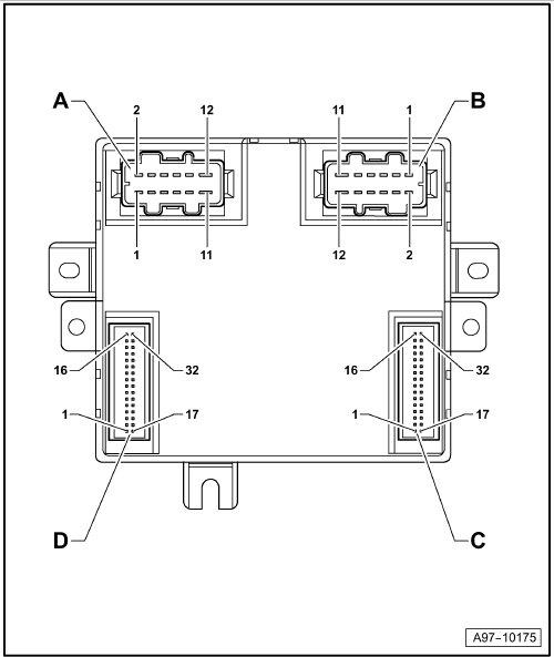
Memory Seat / Steering Column Adjustment Control Module -J136-
Component Locations Control Module
Memory Seat/Steering Column Adjustment Control Module -J136-
Component Location:
below driver's seat -Pos. 2-, connector station driver's seat -Pos. 1-
Pin Assignment:
A - 12-Pin Connector, black, Connector ST5
B - 12-Pin Connector, black, Connector ST4
C - 32-Pin Connector, blue, Connector ST6
D - 32-Pin Connector, green, Connector ST7