Operation CHARM: Car repair manuals for everyone.
Manuals through 2025 now available!

Our trusted friends have launched a new website named LEMON, which has newer manuals. It also contains all the CHARM manuals.

LEMON is the spiritual successor to CHARM, I recommend you try it!

Link: lemon-manuals.la or lemon-manuals.org.ua

(Some people have issue connecting. LEMON is investigating. For now, use Firefox or change your DNS server)

Or, hide this message: temporarily or permanently

Digital Sound System Control Module Harness Connectors, BOSE 6000






Radio System

Digital Sound System Control Module Harness Connectors, BOSE 6000

Digital Sound System Control Module (J525)





A MOST bus
B Black 18-pin connector (T18c)
C Black 32-pin connector (T32e)

Unlisted connector terminals are not used.

A - MOST Bus





1. Input

2. Output

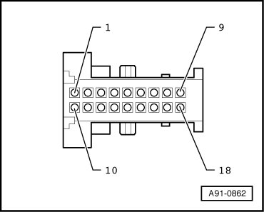
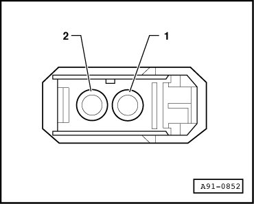
B - Black 18-Pin Connector (T18c)





1 Subwoofer (on rear shelf) (R157) (-)
2 Positive switched to Subwoofer (on rear shelf)
10 Subwoofer (on rear shelf) (+)

C - Black 32-Pin Connector (T32e)





1 Terminal 30
2 Terminal 31
3 Right Front Midrange Speaker (R27) (-)
4 Right Front Midrange Speaker (+)
5 Left Front Bass Speaker (R21) (+)
7 Left Front Midrange Speaker (R26) (-)
8 Left Front Midrange Speaker (+)
9 Microphone 1 (-) from Microphone Unit (in front roof module) (R164)
10 Microphone 1 (+) from Microphone Unit (in front roof module)
11 Subwoofer (on rear shelf) (R150) (-)
12 Subwoofer (on rear shelf) (+)
13 Center Mid/High Range Speaker (R158) (-)
14 Center Mid/High Range Speaker (+)
15 Right Front Bass Speaker (R23) (-)
16 Right Front Bass Speaker (+)
17 Left Front Bass Speaker (R21) (-)
19 Loudspeaker, right rear (-)
20 Loudspeaker, right rear (+)
21 Loudspeaker, left rear (-)
22 Loudspeaker, left rear (+)
23 Microphone 1 (shield) from Microphone Unit (in front roof module) (R164)
24 Microphone 2 wire (-) from the microphone unit (in front roof module)
25 Microphone 2 wire (+) from the microphone unit in front roof module (through 29 August 2008)
29 Ring-break diagnostic cable
30 LF (-) from cell phone preparation preliminary setup/Japan Nav/China Nav (through 29 August 2008)
31 LF (+) from cell phone preparation preliminary setup/Japan Nav/China Nav (through 29 August 2008)