Operation CHARM: Car repair manuals for everyone.
Manuals through 2025 now available!

Our trusted friends have launched a new website named LEMON, which has newer manuals. It also contains all the CHARM manuals.

LEMON is the spiritual successor to CHARM, I recommend you try it!

Link: lemon-manuals.la or lemon-manuals.org.ua

(Some people have issue connecting. LEMON is investigating. For now, use Firefox or change your DNS server)

Or, hide this message: temporarily or permanently

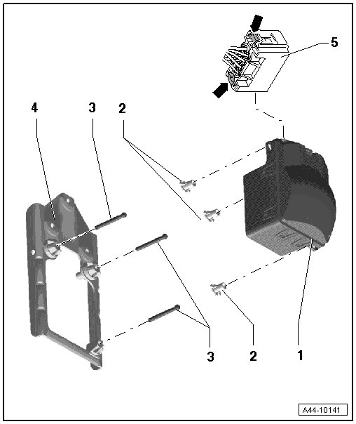
Adaptive Cruise Control Sensor Assembly Overview






Adaptive Cruise Control Sensor Assembly Overview





1 Adaptive Cruise Control Sensor

Removing and installing, refer to => [ Adaptive Cruise Control Sensor ] Removal and Replacement.

2 Mount

For the studs.

3 Studs

The studs in the bracket are preset. Do not change the adjustment.

4 Bracket

5 Electrical Connector

To disconnect, compress both clamps - arrows -.