Operation CHARM: Car repair manuals for everyone.
Manuals through 2025 now available!

Our trusted friends have launched a new website named LEMON, which has newer manuals. It also contains all the CHARM manuals.

LEMON is the spiritual successor to CHARM, I recommend you try it!

Link: lemon-manuals.la or lemon-manuals.org.ua

(Some people have issue connecting. LEMON is investigating. For now, use Firefox or change your DNS server)

Or, hide this message: temporarily or permanently

Air Flow Meter/Sensor: Testing and Inspection






Diagnostic Procedures

Mass Air Flow Sensor, Checking

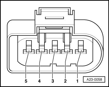
Mass Air Flow (MAF) Sensor (G70) is located in upper part of air filter housing.

Use only gold-plated terminals when servicing terminals in harness connector of Mass Air Flow (MAF) sensor.

Special tools, testers and auxiliary items required

Multimeter (VAG1526) or Multimeter (VAG1715)

Connector test kit (VAG1594)

Wiring diagram

Test Prerequisites

The respective fuses of Mass Air Flow (MAF) Sensor (G70) must be OK:

Fuel Pump (FP) Relay (J17) must be OK, check:

Battery voltage must be at least 11.5 volts.

All electrical consumers such as, for example, lights and rear window defroster must be switched off.

Parking brake must be engaged or else daylight driving lights will be switched on.

The parking brake button must be engaged in order to connect the electrical parking brake.

If vehicle is equipped with an A/C system, it must be switched off.

Ground (GND) connections between engine and chassis must be OK.

Function Test

- Connect diagnostic tester.

- Start engine and let run at idle.

- Under address word 33, select "Diagnostic mode 1: Checking measured values."

- Coolant temperature must be at least 80 °C "PID 5, Coolant temperature".

- Select measuring value "PID 16: Air flow quantity at Mass Air Flow (MAF) sensor".

- Check specified value of air flow quantity at Mass Air Flow (MAF) Sensor at idle:









- End diagnosis and switch ignition off.

If specified value is obtained, but DTC memory has a DTC concerning Mass Air Flow (MAF) sensor:

- Check voltage supply of Mass Air Flow (MAF) sensor.

If specified value is not obtained:

- Check signal and Ground (GND) wire of Mass Air Flow (MAF) sensor.

Voltage Supply, Checking

- Check fuse for Mass Air Flow (MAF) sensor.

If fuse is OK.

- Disconnect connector from Mass Air Flow (MAF) sensor.

- Connect multimeter to terminal 2 of connector and engine Ground (GND) for voltage measurement.





- Operate starter briefly (engine can also start briefly).

Specified value: approx. battery voltage

- If specified value is not reached, check wire connection from terminal 2 of connector to Fuel Pump (FP) relay via fuse for open circuit and short circuit to Ground (GND), repair wire connection if necessary.

- Connect multimeter to terminal 2 and terminal 3 of connector for voltage measurement.





- Operate starter briefly.

Specified value: approx. battery voltage

Ground (GND) from the ECM is present at terminal 3 of connector.

If specified value is not obtained, check wire connections.

- Connect multimeter to terminal 3 and terminal 4 of connector for voltage measurement.





- Switch ignition on.

Specified value: approx. 5 Volts.

If specified value is not obtained, check wire connections.

Wire Connections, Checking

Signal wire is also checked during wire test.

- Connect test box (VAG1598/31) to wiring harness of Engine Control Module (ECM), refer to Repair Manual.





The following wire connections must be checked for short circuit to B+, Ground (GND) and for open circuit





- Check all wires for short circuit to each other.

Specified value: infinite ohms (no continuity)

- If voltage supply and wire connections are OK, replace Mass Air Flow (MAF) sensor.

- Read readiness code => [ Readiness Code, Reading ] Monitors, Trips, Drive Cycles and Readiness Codes .
If DTC memory was erased, readiness code must be generated again => [ Readiness Code, Generating ] Monitors, Trips, Drive Cycles and Readiness Codes.