Operation CHARM: Car repair manuals for everyone.
Manuals through 2025 now available!

Our trusted friends have launched a new website named LEMON, which has newer manuals. It also contains all the CHARM manuals.

LEMON is the spiritual successor to CHARM, I recommend you try it!

Link: lemon-manuals.la or lemon-manuals.org.ua

(Some people have issue connecting. LEMON is investigating. For now, use Firefox or change your DNS server)

Or, hide this message: temporarily or permanently

Engine Speed Sensor: Testing and Inspection






Engine Speed Sensor, Checking

Test Prerequisites

Correct installation and secure seating of Engine Speed (RPM) Sensor.

No shavings or damage at Engine Speed (RPM) Sensor or sensor wheel.

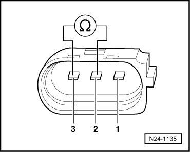
- Disconnect gray harness connector of Engine Speed (RPM) Sensor (G28) (connector strip on underside of transmission, position 1).





- Use adapter cables from connector test kit (VAG1594) to connect portable multimeter (VAG1526) to terminals 2 and 3 for resistance measurement.





Specified value: approx. 450 to 1200 ohms

If specified value is not obtained, replace Engine Speed (RPM) Sensor.

- If specified value is obtained, connect portable multimeter (VAG1526) to terminal 1 and 2 as well as terminal 1 and 3.

Specified value: infinite ohms respectively (no continuity).

If specified value is not obtained, replace Engine Speed (RPM) Sensor.

- Read readiness code => [ Readiness Code, Reading ] Monitors, Trips, Drive Cycles and Readiness Codes. If DTC memory was erased, readiness code must be generated again => [ Readiness Code, Generating ] Monitors, Trips, Drive Cycles and Readiness Codes

If specified values are obtained, check wire connections between harness connector and Engine Control Module (ECM) as follows:

- Connect test box (VAG1598/31) to wiring harness of Engine Control Module (ECM).

The following wire connections must be checked for short circuit to B+, Ground (GND) and for open circuit









- Repair open circuit in wiring or short circuit if necessary.

- Check all wires for short circuit to each other.

Specified value: infinite ohms (no continuity)

If no malfunction is found in wires:

- Remove Engine Speed (RPM) Sensor and check sensor wheel for proper seating, damage and run-out.

There is a larger-sized gap on the sensor wheel. This gap is the reference mark and does not mean that the sensor wheel is damaged.

If nothing seems to be wrong with the sensor wheel:

- Replace Engine Control Module (ECM).

- Read readiness code => [ Readiness Code, Reading ] Monitors, Trips, Drive Cycles and Readiness Codes. If DTC memory was erased, readiness code must be generated again => [ Readiness Code, Generating ] Monitors, Trips, Drive Cycles and Readiness Codes.