Operation CHARM: Car repair manuals for everyone.
Manuals through 2025 now available!

Our trusted friends have launched a new website named LEMON, which has newer manuals. It also contains all the CHARM manuals.

LEMON is the spiritual successor to CHARM, I recommend you try it!

Link: lemon-manuals.la or lemon-manuals.org.ua

(Some people have issue connecting. LEMON is investigating. For now, use Firefox or change your DNS server)

Or, hide this message: temporarily or permanently

Front Fender Assembly Overview






Front Fender Assembly Overview

Bolts and washers are micro-encapsulated and must be replaced after loosening or after removing the fender.





1 Fender

Remove bumper => [ Front Bumper, from MY 2006 ] Front Bumper, Assembly Overview

Remove wheel housing liner => [ Front Wheel housing Liner ] Service and Repair.

Remove end plate => [ Remove and install end plate ].

Loosen headlamp.

Disconnect side blinker electrical connections.

Remove bolts => [ (Item 2) Screw ] , => [ (Item 3) Screw ] , => [ (Item 4) Screw ] , => [ (Item 5) Screw ] and => [ (Item 6) Bolt ].

2 Screw

7 Nm

3 Screw

10 Nm

4 Screw

10 Nm

5 Screw

10 Nm

6 Bolt

10 Nm

7 Bracket

Removing and installing => [ Bracket for fender ].

8 Screw

10 Nm

Bracket for fender





Fender removed.

- Remove bolts - 2 - and remove bracket - 1 -.

Fender insulation





Only installed with 3.0L gasoline engine.

- Before installation, break out at EVAP canister perforated line.

Left fender seal





A new seal must always be installed after removal.

- Seal must be broken out at perforated line before installation.

- Remove protective adhesive film from seal - 1 -, insert in fender and press on firmly.

2 Fender seal

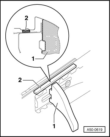
Right fender seal





A new seal must always be installed after removal.

Both seals are installed on the right side only on vehicles with diesel engine.

- Remove protective adhesive film from seal - 1 - and insert in fender.

2 Fender seal
3 Seal connecting piece (only on vehicles with TDI engine)

Remove and install end plate





Front wheel removed.

Wheel housing liner removed.

- Unscrew bolts - 1 - from expanding clip - 3 - and remove end plate - 2 - from fender - 4 -.

1 Screw (2 Nm)