Operation CHARM: Car repair manuals for everyone.
Manuals through 2025 now available!

Our trusted friends have launched a new website named LEMON, which has newer manuals. It also contains all the CHARM manuals.

LEMON is the spiritual successor to CHARM, I recommend you try it!

Link: lemon-manuals.la or lemon-manuals.org.ua

(Some people have issue connecting. LEMON is investigating. For now, use Firefox or change your DNS server)

Or, hide this message: temporarily or permanently

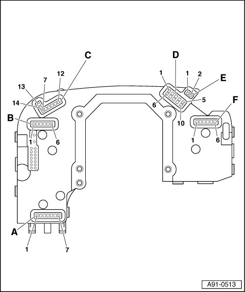
Steering Column Electronic Systems Control Module, Connector Assignment






Steering Column Electronic Systems Control Module, Connector Assignment

Front side





A - Cruise control connector

1 - Terminal 31

2 - Fix

3 - Distance

4 - Terminal 30

5 - Activation/touch control function (Off)

6 - Acceleration/deceleration

7 - Engaged (Off)

B - Turn signal indicator connector

1 - Terminal 31

2 - Radio telephone (special-purpose vehicles)

3 - Alarm (special-purpose vehicles)

5 - Headlight flasher/light control

6 - Turn signal indicators

C - Harness connector of multi-function steering wheel/Tiptronic/heated steering wheel

7 - Touch (-)

8 - Multi-function steering wheel (terminal 30)

9 - Multi-function steering wheel (LIN data bus)

10 - Sensor heating/touch (+)

11 - Multi-function steering wheel/dimmer

12 - Tiptronic Ground

13 - Steering wheel heating (+)

14 - Steering wheel heating (-)

D - Steering Angle Sensor (G85 )

1 - Light barrier 5

2 - Light barrier 3

3 - Light barrier 1

4 - Terminal 30

5 - Voltage supply (5 V)

6 - Light barrier 6

7 - Light barrier 4

8 - Light barrier 2

9 - Terminal 31

10 - Light barrier 7

E - Horn (H1)

1 - Terminal 31

2 - Horn

F - Wiper system

1 - Terminal 31

2 - Intermittent wipe potentiometer

3 - Board computer

5 - Wash

6 - Wipe

Rear side

16-pin multi-pin connector (T16a)





1 Terminal 31
2 Terminal 30
5 Cruise control switched "Off"
6 Alarm (special-purpose vehicles)
7 Radio telephone (special-purpose vehicles)
8 CAN-Bus Low (Comfort)
9 CAN-Bus High (Comfort)
10 CAN-Bus High (powertrain)
11 CAN-Bus Low (powertrain)
12 Ignition terminal lock 75
13 Ignition lock S terminal
14 Ignition terminal lock 15
15 Ignition terminal lock 50
16 Ignition lock terminal P