Operation CHARM: Car repair manuals for everyone.
Manuals through 2025 now available!

Our trusted friends have launched a new website named LEMON, which has newer manuals. It also contains all the CHARM manuals.

LEMON is the spiritual successor to CHARM, I recommend you try it!

Link: lemon-manuals.la or lemon-manuals.org.ua

(Some people have issue connecting. LEMON is investigating. For now, use Firefox or change your DNS server)

Or, hide this message: temporarily or permanently

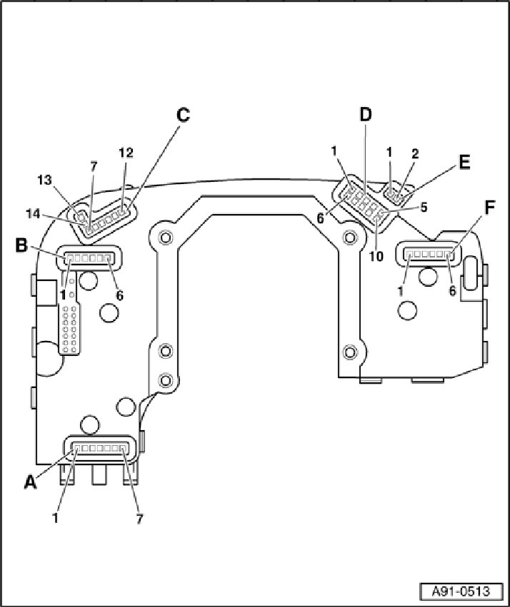
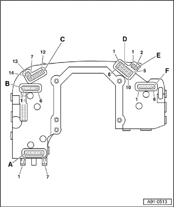
Terminal Assignment At Steering Column Electronic Systems Control Module -J527- (Front)



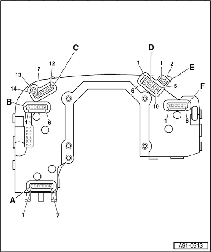
Terminal Assignment At Steering Column Electronic Systems Control Module -J527- (Front)







A - Cruise control system harness connector
1 - Ground (GND)
2 - Set
3 - Distance
4 - 12 V voltage supply
5 - Mount/Tip function "Off"
6 - Acceleration/Deceleration
7 - Engaged "Off"

B - Turn signal harness connector
1 - Ground (GND)
2 - Radio remote control (special vehicles)
3 - Alarm (special vehicles)
4 - Not occupied
5 - Flasher/light change-over
6 - Blinking







Harness connector of multi-function steering wheel/Tiptronic/heated steering wheel

7 - Tip-"-"
8 - Multi-function steering wheel "+"- voltage supply
9 - Multi-function steering wheel data
10 - Sensor heater/tip-"+"
11 - Multi-function steering wheel dimmer
12 - Tiptronic Ground (GND)
13 - Steering wheel heater "+"
14 - Steering wheel heater "-"

D - Steering angle sensor
1 - Light barrier 5
2 - Light barrier 3
3 - Light barrier 1
4 - 12 V voltage supply
5 - 5 V voltage supply
6 - Light barrier 6
7 - Light barrier 4
8 - Light barrier 2
9 - Steering angle sensor Ground (GND)
10 - Light barrier 7







E - Signal horn
1 - Horn Ground (GND)
2 - Horn

F - Wiper system
1 - Ground (GND)
2 - Interval-potentiometer
3 - Board computer
4 - Not occupied
5 - Washing
6 - Wiping