Operation CHARM: Car repair manuals for everyone.
Manuals through 2025 now available!

Our trusted friends have launched a new website named LEMON, which has newer manuals. It also contains all the CHARM manuals.

LEMON is the spiritual successor to CHARM, I recommend you try it!

Link: lemon-manuals.la or lemon-manuals.org.ua

(Some people have issue connecting. LEMON is investigating. For now, use Firefox or change your DNS server)

Or, hide this message: temporarily or permanently

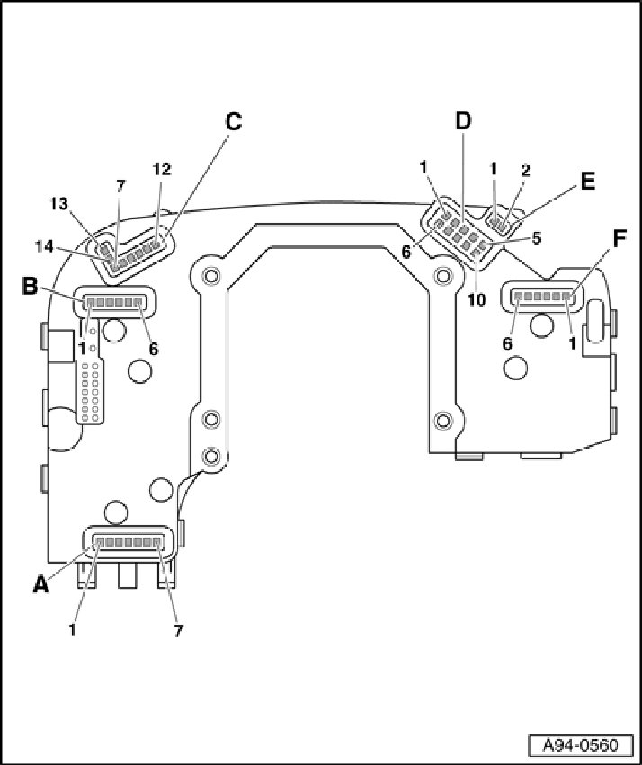
Steering Column Electronics Systems Control Module J527, Front Multi-Pin Connector Assignments



Steering Column Electronics Systems Control Module J527, Front Multi-pin Connector Assignments

The Steering Column Electronics Systems Control Module J527 is part of the steering column switch module. It receives signals e.g. from the steering column switches.







A - Cruise control system multi-pin connector
1 - Ground (GND)(-)
2 - Set
3 - Distance
4 - 12 V voltage supply
5 - Activation/touch function "Off"
6 - Acceleration/deceleration
7 - Locked "Off"

B - Turn signal switch multi-pin connector
1 - Ground (GND) (-)
2 - Radio telephone (special-purpose vehicles)
3 - Alarm (special-purpose vehicles)
4 - Vacant
5 - Headlamp flasher/light control
6 - Turn signal indicators

C - Multi-function steering wheel / Tiptronic / heated steering wheel multi-pin connector
7 - Tiptronic""
8 - Multi-function steering wheel"+" voltage supply
9 - Multi-function steering wheel data
10 - Tiptronic"+"
11 - Multi-function steering wheel dimmer
12 - Tiptronic earth
13 - Heated steering wheel"+"
14 - Heated steering wheel""

D - Steering angle sensor multi-pin connector
1 - Light barrier 5
2 - Light barrier 3
3 - Light barrier 1
4 - 12 V voltage supply
5 - 5 V voltage supply
6 - Light barrier 6
7 - Light barrier 4
8 - Light barrier 2
9 - Steering angle sensor Ground (GND) (-)
10 - Light barrier 7

E - Horn switch multi-pin connector
1 - Horn Ground (GND) (-)
2 - Horn

F - Wiper switch multi-pin connector
1 - Ground (GND) (-)
2 - Intermittent wipe potentiometer
3 - Multi-function Indicator (On-board computer)
4 - Vacant
5 - Wash
6 - Wipe