Operation CHARM: Car repair manuals for everyone.
Manuals through 2025 now available!

Our trusted friends have launched a new website named LEMON, which has newer manuals. It also contains all the CHARM manuals.

LEMON is the spiritual successor to CHARM, I recommend you try it!

Link: lemon-manuals.la or lemon-manuals.org.ua

(Some people have issue connecting. LEMON is investigating. For now, use Firefox or change your DNS server)

Or, hide this message: temporarily or permanently

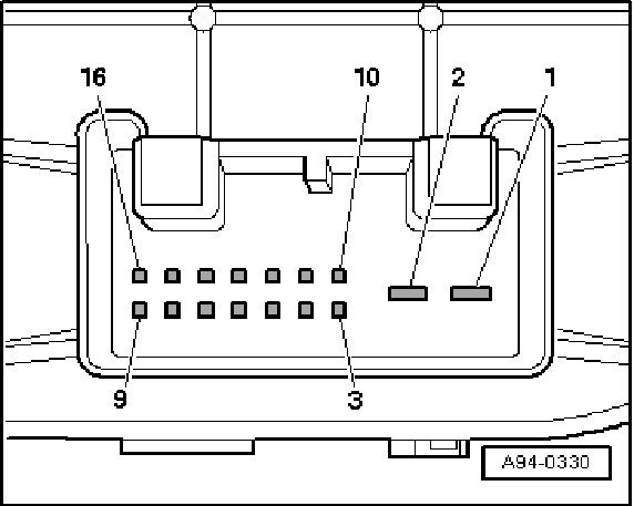
Steering Column Electronics Systems Control Module J527, Rear Multi-Pin Connector Assignments



Steering Column Electronics Systems Control Module J527, Rear Multi-pin Connector Assignments







Multi-pin connector, 16-pin
1 - Ground (GND) (-)
2 - Terminal 30 (B+)
3 - CAN-Bus Powertrain (shielding)
4 - Vacant
5 - Cruise control locked Off
6 - Alarm (special-purpose vehicles)
7 - Radio telephone (special-purpose vehicles)
8 - CAN-Bus Low (convenience)
9 - CAN-Bus High (convenience)
10 - CAN-Bus High - Powertrain (shielding
11 - CAN- Bus Low - Powertrain (shielding
12 - Ignition lock terminal 75
13 - Ignition lock terminal 15
14 - Ignition lock S contact
15 - Ignition lock terminal 50
16 - Ignition lock terminal P