Operation CHARM: Car repair manuals for everyone.
Manuals through 2025 now available!

Our trusted friends have launched a new website named LEMON, which has newer manuals. It also contains all the CHARM manuals.

LEMON is the spiritual successor to CHARM, I recommend you try it!

Link: lemon-manuals.la or lemon-manuals.org.ua

(Some people have issue connecting. LEMON is investigating. For now, use Firefox or change your DNS server)

Or, hide this message: temporarily or permanently

Air Quality Sensor






Air Quality Sensor

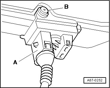
The air quality sensor is a highly sensitive electronic component that can be damaged if it comes in direct contact with solvents, fuels, or certain chemical compositions (e.g. impurities may enter through area - A - in version "2").





Do not install an air quality sensor that has been kept, for example, in a tool box.

Do not store a removed air quality sensor in areas where they can come into contact with solvents, fuels, and certain chemical compositions (fluids or vapors).

The air quality sensor is available in various versions. Air quality sensor version "1" was installed at the start of production. This sensor will be replaced gradually by sensor version "2" but the mode of operation is identical.

Removing

- Remove the plenum chamber cover.

Version "1"

- Disconnect connectors - A - from the air quality sensor.





- Remove screw - B - and remove the air quality sensor.

Terminal assignment in connector - A -





1 B+ (terminal "15")
2 Ground (terminal "31")
3 Signal wire to Climatronic control module A/C control head (square wave signal not measurable)
4 Not assigned

Version "2"

- Disconnect connectors - A - from air quality sensor.





- Disengage locking mechanism - B - and slide air quality sensor - C - down.

Terminal assignment in connector - A -

1 B+ (terminal "15")
2 Ground (terminal "31")
3 Signal wire to Climatronic control module A/C control head (square wave signal not measurable)

Installing

Installation is reverse of removal.