Operation CHARM: Car repair manuals for everyone.
Manuals through 2025 now available!

Our trusted friends have launched a new website named LEMON, which has newer manuals. It also contains all the CHARM manuals.

LEMON is the spiritual successor to CHARM, I recommend you try it!

Link: lemon-manuals.la or lemon-manuals.org.ua

(Some people have issue connecting. LEMON is investigating. For now, use Firefox or change your DNS server)

Or, hide this message: temporarily or permanently

Knock Sensors, Checking



Knock Sensors, Checking

The following procedure is used to check Knock Sensor (KS) 1 G61 and Knock Sensor (KS) 2 G66.

Special tools, testers and auxiliary items required
- Multimeter.
- Wiring diagram.

NOTE:
- Cylinders 1, 2, and 3 (bank 1) are monitored by Knock sensor (KS) 1 -G61-. Cylinders 4, 5, and 6 (bank 2) are monitored by Knock sensor (KS) 2 -G66-.
- Knock sensors themselves cannot be checked electrically.
- When servicing terminals in the harness connector of knock sensors, use only gold plated terminals.
- For the knock sensors to function properly, it is important that the tightening torque be exactly 20 Nm.
- Contact surfaces between Knock Sensor (KS) 1 G61 and Knock Sensor (KS) 2 G66 and cylinder block must be free of corrosion, dirt and grease.

Test requirements
- The mounting bolt of Knock Sensor (KS) 1 G61 / Knock Sensor (KS) 2 G66 tightened to 20 Nm.
- The Engine Control Module (ECM) J623 fuses OK.
- Battery voltage at least 12.5 volts.
- All electrical consumers such as, lights and rear window defroster, switched off.
- Vehicles with automatic transmission, shift selector lever into position "P" or "N".
- A/C switched off.
- Ground (GND) connections between engine/transmission/chassis OK.
- Ignition switched off.

Test procedure
- Perform a preliminary check to verify the customers complaint. General Diagnosis

Start diagnosis







- Remove the rear engine cover - arrows -.

Checking knock sensor and wiring

NOTE: The knock sensor electrical connectors can be identified by color. Knock Sensor (KS) 1 -G61- (Bank 1) is green. Knock Sensor (KS) 2 -G66- (Bank 2) is gray.







- Disconnect the electrical harness connector - 1 - or - 2 - of the respective knock sensor.
1 - Knock Sensor (KS) 1 -G61-..
2 - Knock sensor (KS) 2 -G66-..

Checking internal resistance







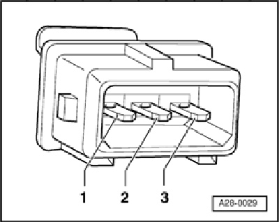
- Using a Multimeter , check the Knock Sensor terminals for an internal short.

Knock Sensor (KS) Electrical harness connector terminals
1 + 2
1 + 3
2 + 3

Specified value: (Infinity).

If the specified values are not obtained:
- Replace the faulty Knock Sensor (KS).

If the specified values are obtained:

Checking wiring

If the manufacturers test box is being used. Perform the following step.
- Install the test box.

If the manufacturers test box is not being used. Perform the following step.
- Remove the Engine Control Module (ECM) J623.







- Using a Multimeter , Check the Knock Sensor electrical harness connector to the Engine Control Module (ECM) J623 electrical harness connector T60 for an open circuit.

Knock Sensor (KS) 1 G61 Engine Control Module (ECM) electrical
electrical harness connector harness connector T60 terminals
terminals or test box sockets

1 41
2 58
3 42

Knock Sensor (KS) 2 G66 Engine Control Module (ECM) electrical
electrical harness connector harness connector T60 terminals
terminals or test box sockets

1 56
2 57
3 42

Specified value: 1.5 Ohms Max.

If the specified value was not obtained:
- Check the wiring connection for an open circuit, short circuit to Battery (+) or Ground (GND).
- Check the wiring connection for damage, corrosion, lose or broken terminals.
- If necessary, repair the faulty wiring connection.

If no malfunction is found in the wiring and the resistance was not OK:
- Replace the faulty Knock Sensor (KS).

If no malfunction is found in the wiring and the resistance was OK:
- Replace the Engine Control Module (ECM) J623.

Assembly is performed in the reverse order of removal, note the following:

Final procedures
After repair work, the following work steps must be performed in the mentioned sequence:
1. Check the DTC memory. Diagnostic Mode 03 - Read DTC Memory
2. If necessary, erase the DTC memory. Diagnostic Mode 04 - Erase DTC Memory
3. If the DTC memory was erased, generate readiness code. Monitors, Trips, Drive Cycles and Readiness Codes

- End diagnosis and switch ignition off.