Operation CHARM: Car repair manuals for everyone.
Manuals through 2025 now available!

Our trusted friends have launched a new website named LEMON, which has newer manuals. It also contains all the CHARM manuals.

LEMON is the spiritual successor to CHARM, I recommend you try it!

Link: lemon-manuals.la or lemon-manuals.org.ua

(Some people have issue connecting. LEMON is investigating. For now, use Firefox or change your DNS server)

Or, hide this message: temporarily or permanently

Heated Windshield Control Module -J505-, Parking Brake Control Module -J540- Towing Recognition Control Module -J345-







Component Locations Control Modules

Heated Windshield Control Module -J505-, Electro-Mechanical Parking Brake Control Module -J540- and Towing Recognition Control Module -J345-




Component Location:







below Battery
1 - Heated Windshield Control Module -J505-
2 - Electro-Mechanical Parking Brake Control Module -J540-
3 - Towing Recognition Control Module -J345-


Towing Recognition Control Module -J345-:







A - 16-Pin Connector, T16f, black

B - 12-Pin Connector, T12m, red



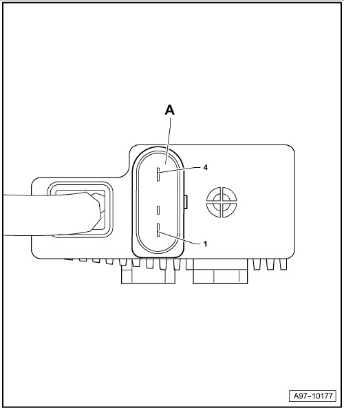
Heated Windshield Control Module -J505-:







A - 4-Pin Connector, black



Electro-Mechanical Parking Brake Control Module -J540-:







A - 30-Pin Connector, black