Operation CHARM: Car repair manuals for everyone.
Manuals through 2025 now available!

Our trusted friends have launched a new website named LEMON, which has newer manuals. It also contains all the CHARM manuals.

LEMON is the spiritual successor to CHARM, I recommend you try it!

Link: lemon-manuals.la or lemon-manuals.org.ua

(Some people have issue connecting. LEMON is investigating. For now, use Firefox or change your DNS server)

Or, hide this message: temporarily or permanently

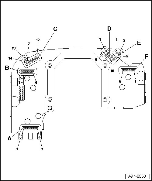
Steering Column Electronic Systems Control Module Connector Assignment, Front Side






Steering Column Electronic Systems Control Module Connector Assignment, Front Side

Steering column electronic systems control module (J527) is part of complete steering column switch module (SCSM) system. and receives signals from steering column switch, for example.

Testing module is performed with the vehicle diagnosis, testing and information system (VAS 5051B).






A - Cruise Control Connector

1 - Ground (GND)

2 – Fix

3 – Distance

4 - 12V voltage supply

5 - Resume/touch Off

6 – Acceleration/deceleration

7 - Locked Off

B - Turn Signal Indicator Connector

1 - Ground (GND)

2 – Radio telephone (special-purpose vehicles)

3 – Alarm (special-purpose vehicles)

4 – Not used

5 – Headlamp flasher/lamp control

6 – Turn signal indicators

C - Harness Connector of Multi-Function Steering Wheel/Tiptronic/Heated Steering Wheel

7 - Tip-"-"

8 - Multi-function steering wheel "+" voltage supply

9 – Multi-function steering wheel/data

10 - Tip-"+"

11 – Multi-function steering wheel/dimmer

12 - Tiptronic ground (GND)

13 - Heated steering wheel "+"

14 - Heated steering wheel "-"

D - Steering Angle Sensor

1 – lamp barrier 5

2 – lamp barrier 3

3 – lamp barrier 1

4 - 12V voltage supply

5 - 5 V voltage supply

6 – lamp barrier 6

7 – lamp barrier 4

8 - lamp barrier 2

9 – Steering Angle Sensor ground

10 – lamp barrier 7

E - Horn

1 – Horn ground

2 – Horn

F - Wiper System

1 - Ground (GND)

2 – Intermittent wipe potentiometer

3 - Board computer

4 – Not used

5 – Wash

6 – Wipe