Operation CHARM: Car repair manuals for everyone.
Manuals through 2025 now available!

Our trusted friends have launched a new website named LEMON, which has newer manuals. It also contains all the CHARM manuals.

LEMON is the spiritual successor to CHARM, I recommend you try it!

Link: lemon-manuals.la or lemon-manuals.org.ua

(Some people have issue connecting. LEMON is investigating. For now, use Firefox or change your DNS server)

Or, hide this message: temporarily or permanently

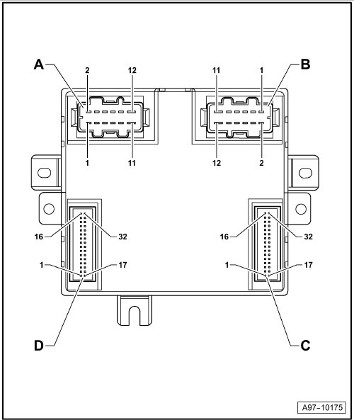
Memory Seat / Steering Column Adjustment Control Module -J136-






Component Locations Control Module

Memory Seat/Steering Column Adjustment Control Module -J136-




Component Location:







below driver's seat -Pos. 2-, connector station driver's seat -Pos. 1-


Pin Assignment:







A - 12-Pin Connector, black, Connector ST5

B - 12-Pin Connector, black, Connector ST4

C - 32-Pin Connector, blue, Connector ST6

D - 32-Pin Connector, green, Connector ST7