Operation CHARM: Car repair manuals for everyone.
Manuals through 2025 now available!

Our trusted friends have launched a new website named LEMON, which has newer manuals. It also contains all the CHARM manuals.

LEMON is the spiritual successor to CHARM, I recommend you try it!

Link: lemon-manuals.la or lemon-manuals.org.ua

(Some people have issue connecting. LEMON is investigating. For now, use Firefox or change your DNS server)

Or, hide this message: temporarily or permanently

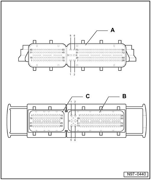
SIMOS Control Module -J361- / Motronic ECM -J220- / Diesel Direct FI (DFI) ECM -J248- / ECM -J623-







Control modules in front part of vehicle

SIMOS Control Module -J361- / Motronic Engine Control Module (ECM) -J220- / Diesel Direct Fuel Injection (DFI) Engine Control Module (ECM) -J248- / Engine Control Module (ECM) -J623-









Component Location:


In center plenum chamber -Arrow-


121-pin, Pin Arrangements:







A - Engine Control Module (ECM) -J623-
Connector:

B - 81-Pin Connector -T81-

C - 40-Pin Connector -T40-

Note:
-T121- consists of items B and C.




154-pin, Pin Arrangements:







A - Engine Control Module (ECM)
Connector:

B - 94-Pin Connector -T94-

C - 60-Pin Connector -T60-