Operation CHARM: Car repair manuals for everyone.
Manuals through 2025 now available!

Our trusted friends have launched a new website named LEMON, which has newer manuals. It also contains all the CHARM manuals.

LEMON is the spiritual successor to CHARM, I recommend you try it!

Link: lemon-manuals.la or lemon-manuals.org.ua

(Some people have issue connecting. LEMON is investigating. For now, use Firefox or change your DNS server)

Or, hide this message: temporarily or permanently

Engine Speed Sensor: Testing and Inspection







Engine Speed Sensor, Checking

Use only gold-plated terminals when servicing terminals in the electrical harness connector of the Engine Speed (RPM) Sensor (G28).

Special tools, testers and auxiliary items required

multimeter.

Wiring diagram.

Test requirements

The Motronic Engine Control Module (ECM) (J623) fuses OK.






Battery voltage at least 12.5 volts.

All electrical consumers such as, lights and rear window defroster, switched off.

Vehicles with automatic transmission, shift selector lever into position "P" or "N".

A/C switched off.

Ground (GND) connections between engine/transmission/chassis OK.

Ignition switched off.

Function

The Engine Speed (RPM) Sensor (G28) detects RPM and reference marks. Without an engine speed signal, the engine will not start. If the engine speed signal fails while the engine is running, the engine will stop immediately.

Test procedure

- Perform a preliminary check to verify the customers complaint. Refer to => [ Preliminary Check ] Preliminary Check

Start diagnosis

- Connect the scan tool.

- Switch the ignition on.

- Using the scan tool, check the engine speed:






- End diagnosis and switch ignition off.

If the specified value was not obtained:

Checking internal resistance

- Disconnect the Engine Speed (RPM) Sensor (G28) electrical harness connector.






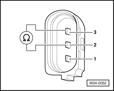
- Using a multimeter, check the Engine Speed (RPM) Sensor (G28) terminals 2 to 3 for resistance.






Specified value: 450 to 1200 ohms

If the specified value is not obtained:

- Replace the Engine Speed (RPM) Sensor (G28). Refer to appropriate service information.

If the specified values are obtained:

Checking voltage supply

- Using a multimeter, check the electrical harness connector terminal 1 to 2 for voltage.






- Turn the key on.

Specified value: approx. 5 volts.

If the specified value was not obtained:

- Using a multimeter, check the electrical harness connector terminal 1 to ground for voltage.






Specified value: approx. 5 volts.

If the specified value is not obtained:

- Check the wiring connection from the electrical harness connector terminal 1 to the Engine Component Power Supply Relay (J757) terminal 2/87 for an open circuit.

- Check the electrical harness connector for damage, corrosion, loose or broken terminals.

- If necessary, repair the wiring connection.

Checking wiring

If the manufacturers test box is being used, perform the following step.

- Install the test box.

If the manufacturers test box is not being used, perform the following step.

- Remove the Motronic Engine Control Module (ECM) (J623). Refer to appropriate service information.

- Using a multimeter, check the Engine Speed (RPM) Sensor (G28) electrical harness connector terminals to the Motronic Engine Control Module (ECM) (J623) electrical harness connector T105 terminals for an open circuit.











Specified value: 1.5 ohms Max.

If the specification was not obtained:

- Check the wiring for a short circuit to Battery (+), or an open circuit.

- Check the electrical harness connector for damage, corrosion, loose or broken terminals.

- If necessary, repair the faulty wiring connection.

If no malfunction is detected in the wiring:

- Remove the Engine Speed (RPM) Sensor (G28) and check the sensor wheel for proper seating, damage and run-out. Refer to appropriate service information.

If the sensor wheel is OK:

- Replace the Motronic Engine Control Module (ECM) (J623). Refer to appropriate service information.

Final procedures

After the repair work, the following work steps must be performed in the following sequence:

1. Check the DTC memory. Refer to => [ Diagnostic Mode 03 - Read DTC Memory ] Diagnostic Modes 01 - 0A.

2. If necessary, erase the DTC memory. Refer to => [ Diagnostic Mode 04 - Erase DTC Memory ] Diagnostic Modes 01 - 0A.

3. If the DTC memory was erased, generate readiness code. Refer to => [ Readiness Code ] Programming and Relearning.