Operation CHARM: Car repair manuals for everyone.
Manuals through 2025 now available!

Our trusted friends have launched a new website named LEMON, which has newer manuals. It also contains all the CHARM manuals.

LEMON is the spiritual successor to CHARM, I recommend you try it!

Link: lemon-manuals.la or lemon-manuals.org.ua

(Some people have issue connecting. LEMON is investigating. For now, use Firefox or change your DNS server)

Or, hide this message: temporarily or permanently

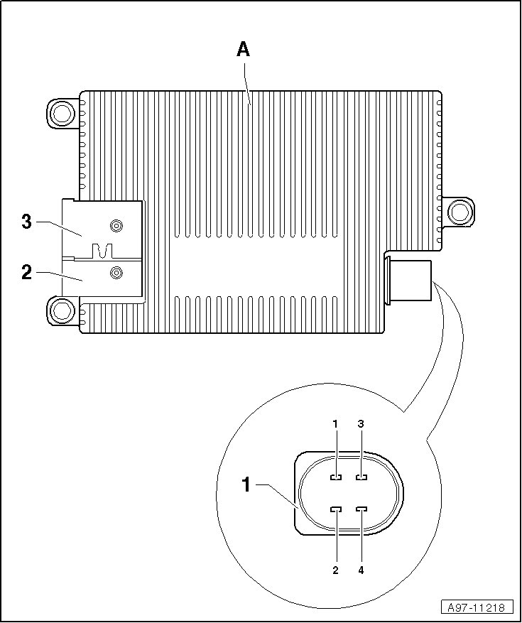
Heated Glass Control Module: Locations







Control modules in rear part of vehicle

Heated Windshield Control Module -J505-


Component Location:





In left luggage compartment, in spare tire well -2- .





A - Heated Windshield Control Module -J505-

1 - 4-Pin Connector -T4em- , black

2 - B1 terminal 30

3 - C1 terminal 31