Operation CHARM: Car repair manuals for everyone.
Manuals through 2025 now available!

Our trusted friends have launched a new website named LEMON, which has newer manuals. It also contains all the CHARM manuals.

LEMON is the spiritual successor to CHARM, I recommend you try it!

Link: lemon-manuals.la or lemon-manuals.org.ua

(Some people have issue connecting. LEMON is investigating. For now, use Firefox or change your DNS server)

Or, hide this message: temporarily or permanently

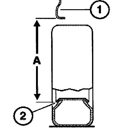
Measuring Vehicle Height Setting



Measuring Vehicle Height Setting






Determine actual ride-level height (A)-measurement from wheel arch lower edge (1) to rim flange (2) at wheel center height.
Determine mean value in each case for each wheel after previously raising and lowering vehicle body and establish mean value for axle.
If there is a deviation from specified value, refer to specifications.