Operation CHARM: Car repair manuals for everyone.
Manuals through 2025 now available!

Our trusted friends have launched a new website named LEMON, which has newer manuals. It also contains all the CHARM manuals.

LEMON is the spiritual successor to CHARM, I recommend you try it!

Link: lemon-manuals.la or lemon-manuals.org.ua

(Some people have issue connecting. LEMON is investigating. For now, use Firefox or change your DNS server)

Or, hide this message: temporarily or permanently

Alignment: Testing and Inspection

31 33 095 Measuring ride-level height of vehicle
Necessary preliminary tasks:
^ Move vehicle into normal position





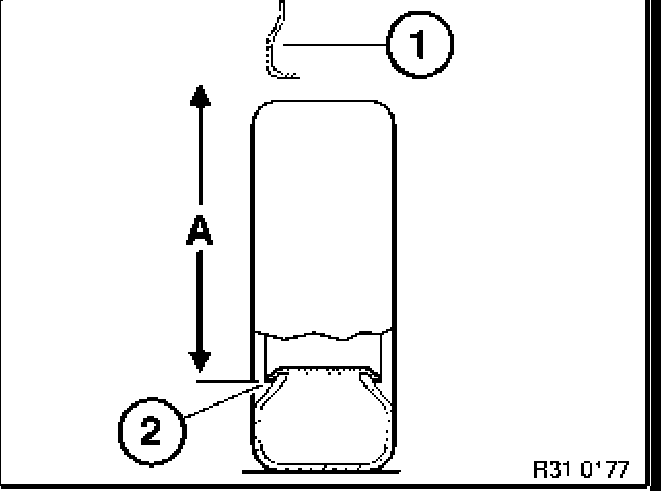
Determine actual ride height (A).
Measurement from wheel arch lower edge (1) to rim flange (2) at height of wheel center.
Bump vehicle up and down. Calculate value for each wheel. Derive the mean value for the axle from this. Specified value