Operation CHARM: Car repair manuals for everyone.
Manuals through 2025 now available!

Our trusted friends have launched a new website named LEMON, which has newer manuals. It also contains all the CHARM manuals.

LEMON is the spiritual successor to CHARM, I recommend you try it!

Link: lemon-manuals.la or lemon-manuals.org.ua

(Some people have issue connecting. LEMON is investigating. For now, use Firefox or change your DNS server)

Or, hide this message: temporarily or permanently

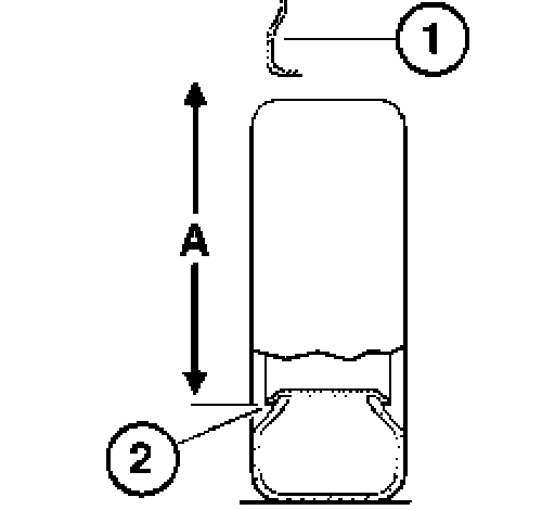
Measuring Ride Level Height of Vehicle

31 33 095 Measuring ride level height of vehicle

Necessary preliminary tasks:
^ Move vehicle into normal position.





Determine actual ride level (A).
Measurement from wheel arch lower edge (1) to rim flange (2) at height of wheel center.
Determine mean value after previous raising and lowering of vehicle body for each wheel.
Derive the mean value for the axle from this.
In case of deviation from specified value: Install new coil spring.