Operation CHARM: Car repair manuals for everyone.
Manuals through 2025 now available!

Our trusted friends have launched a new website named LEMON, which has newer manuals. It also contains all the CHARM manuals.

LEMON is the spiritual successor to CHARM, I recommend you try it!

Link: lemon-manuals.la or lemon-manuals.org.ua

(Some people have issue connecting. LEMON is investigating. For now, use Firefox or change your DNS server)

Or, hide this message: temporarily or permanently

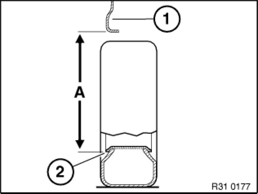
33 53 ... Measuring Ride-Level Height of Vehicle




33 53 ... - Measuring ride-level height of vehicle





Necessary preliminary tasks:
- Move vehicle into normal position 32 00 ... Moving Vehicle Into Normal Position





Determine actual ride height (A) - to do so, attach tape measure to rim flange (2) at bottom middle and measure to lower edge of wheel arch (1).