Operation CHARM: Car repair manuals for everyone.
Manuals through 2025 now available!

Our trusted friends have launched a new website named LEMON, which has newer manuals. It also contains all the CHARM manuals.

LEMON is the spiritual successor to CHARM, I recommend you try it!

Link: lemon-manuals.la or lemon-manuals.org.ua

(Some people have issue connecting. LEMON is investigating. For now, use Firefox or change your DNS server)

Or, hide this message: temporarily or permanently

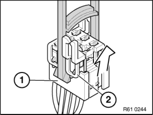
Relay Box: Service and Repair



61 13 ... Relay Carrier







Place special tool 61 1 153 against relay carrier (1) and carefully pull in direction of arrow until the locking tabs (2) of the relay carrier are raised up.







Pull relay carrier (2) in direction of arrow into the first catch (3).







Press down arrester hook (4) of corresponding contact and pull out the cable with contact.
With special tool 61 1 136 or 61 1 137 (press out) press out dual spring contacts.